EasyManua.ls Logo

Lexus LS 430 - Page 23

Lexus LS 430
29 pages
Print Icon
To Next Page IconTo Next Page
To Next Page IconTo Next Page
To Previous Page IconTo Previous Page
To Previous Page IconTo Previous Page
Loading...
LS 430
CMT - Dual band portable phone
53
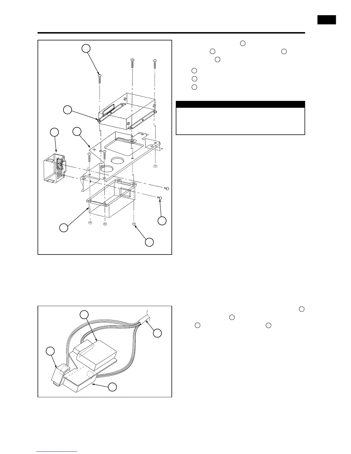
4.9 Install the PSE , the universal con-
troller and the speaker relay to the
bracket using the bolts and nuts.
: Bolt (M4x12) (5x)
: Bolt (M4x4) (2x)
: Nut (M4) (5x)
6
5
3
2
V
VII
VI
4.10 Connect the subwire adapter cable
to the PSE , the universal controller
and the speaker relay .
V
VII
VI
V III
2
6
VII
VII
IMPORTANT
Make sure the connectors
of the different parts face as indicated
in the drawing.

Related product manuals