EasyManua.ls Logo

LG A2UN186FA0 - Page 55

LG A2UN186FA0
132 pages
Print Icon
To Next Page IconTo Next Page
To Next Page IconTo Next Page
To Previous Page IconTo Previous Page
To Previous Page IconTo Previous Page
Loading...
55
1076
more than
260
265
Washer
Nut
Wall
Anchor nut
Spring
washer
Wall
5~7mm
Less than
12mm
1236
Indoor Outdoor
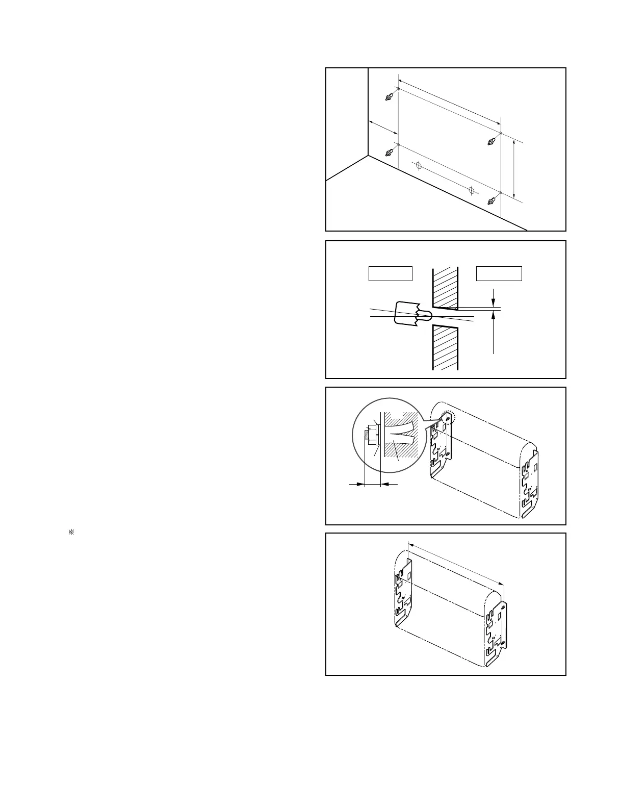
2) Installation on the Wall
Select and mark the position for fixing bolts and piping
hole.
Decide the position for fixing bolts slightly tilted to the
drain direction after considering the direction of drain
hose.
Drill the hole for anchor nut on the wall.
Drill the piping hole on the wall slightly tilted to the out-
door side using a ø70 hole-core drill.
Secure the 'Install Plate' onto the wall with four anchor
bolts, washers and spring washers.
Before secure the Install Plates, select the bent direc-
tion of the 'Install Plate' to the inside or outside accord-
ing to the installation circumstances.

Table of Contents

Related product manuals