EasyManua.ls Logo

LG ACHH017VBAB - Page 92

LG ACHH017VBAB
134 pages
Print Icon
To Next Page IconTo Next Page
To Next Page IconTo Next Page
To Previous Page IconTo Previous Page
To Previous Page IconTo Previous Page
Loading...
92
Due to our policy of continuous product innovation, some specifications may change without notification.
©LG Electronics U.S.A., Inc., Englewood Cliffs, NJ. All rights reserved. “LG” is a registered trademark of LG Corp.
LG Air-Cooled Cooling Only Inverter Scroll Chiller Installation and Owners Manual
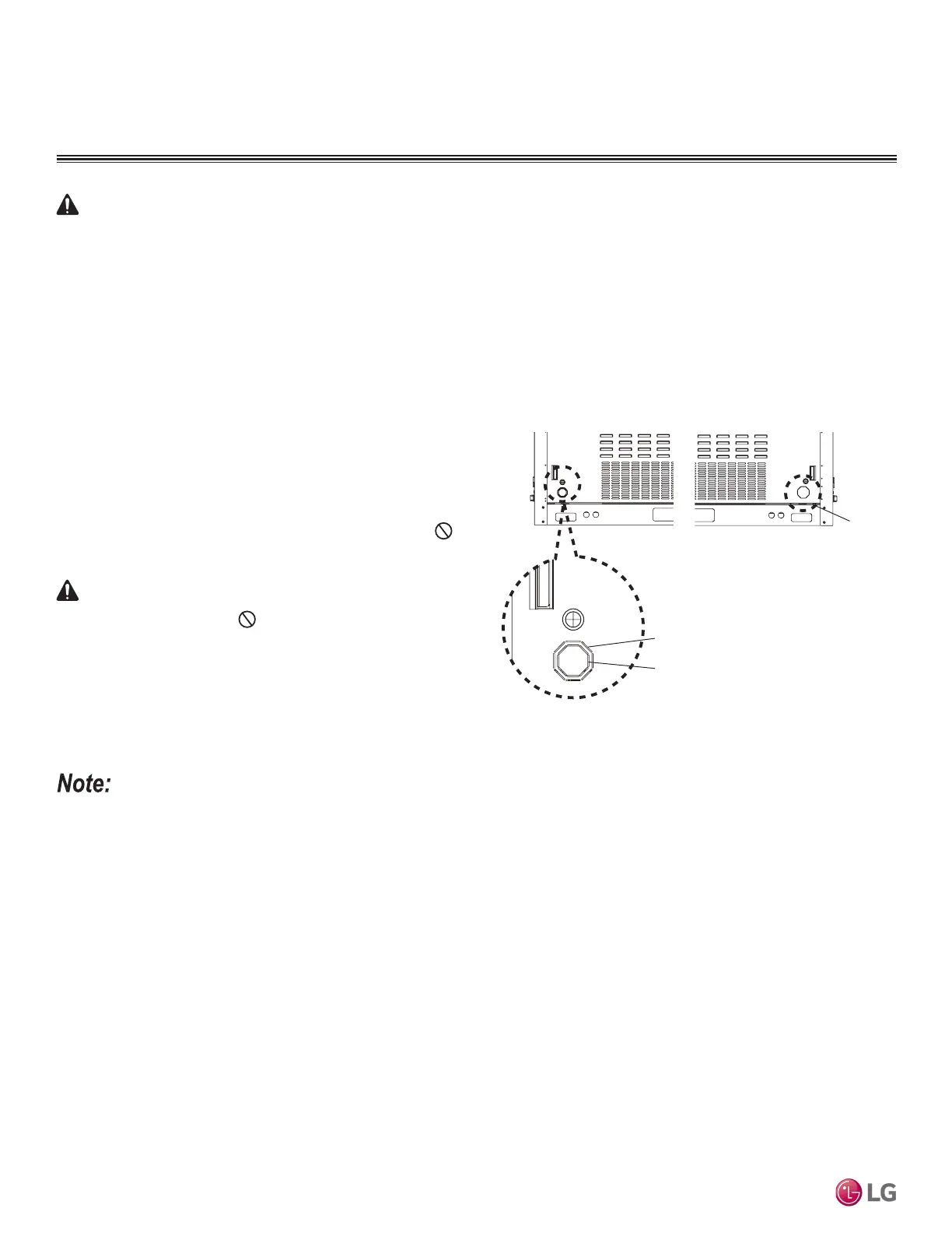
ELECTRICAL
1. Power wiring and communication cable access holes and connec-
tions will be different depending on the chiller model and volume.
2. Single Chillers use the connection terminals located at the right
(when viewing from the front).
3. Install the power wiring and communication cables separately
so that communication is not impacted by electric noise (Use
conduits for the power wiring and communication cable, but
do not pass through the same conduit.)
WARNING
Properly ground the chillers. Do not connect ground wire to
refrigerant, gas, or water piping; to lightning rods; to telephone
ground wiring; or to the building plumbing system. Ground wiring
must always be installed by a qualified technician. Ground wiring
is required to prevent accidental electrical shock during current
leakage, which will cause bodily injury or death.
Install the power wiring only after the ring terminal is connected.
Improper connections can generate a fire, electric shock, physical injury and / or death.
Install the power wiring only after the ring terminal is connected. Improper connections can damage electrical components.
Verify the power imbalance is no greater than 2% between phases at each unit. Power imbalances will damage the compressors and other
components.
WARNING
All power wiring and communication cable installation must be performed by authorized service providers working in accordance with local,
state, and National Electrical Code (NEC) regulations related to electrical equipment and wiring, and following the instructions in this manu-
al. Failure to do so will lead to electric shock and bodily injury or death.
Undersized wiring will lead to unacceptable voltage at the unit and will cause a fire, which will cause bodily injury or death.
Install appropriately sized breakers / fuses / overcurrent protection switches and wiring in accordance with local, state, and NEC regulations
related to electrical equipment and wiring, and following the instructions in this manual. Generated overcurrent could include some amount
of direct current. Using an oversized breaker or fuse will result in electric shock, physical injury or death.
Access Holes / Paths
Right Side
Dual Chiller
Triple Chiller of 208-230V Models
Triple
Chiller
Single Chiller
Left Side
Figure 34: Chiller Wiring / Cable Access Holes.
Access Holes / Paths

Related product manuals