EasyManua.ls Logo

LG Universal System Air Conditioner - Page 92

LG Universal System Air Conditioner
183 pages
To Next Page IconTo Next Page
To Next Page IconTo Next Page
To Previous Page IconTo Previous Page
To Previous Page IconTo Previous Page
Loading...
92 Universal System Air Conditioner
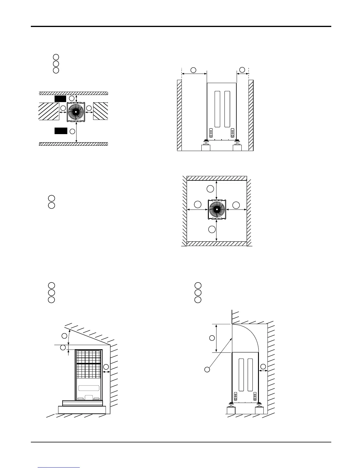
MPS Inverter SINGLE A
A : 750 mm or more
B : 250 mm or more
When inlet air enters from right and left sides of unit
Rear
Front
A : 750 mm or more
B : 250 mm or more
C : 150 mm or more
<Top View> <Side View>
When unit is surrounded by walls
When there is an obstructure above the unit
A : 45˚ or more
B : 200 mm or more
C : 250 mm or more
D : 1000 mm or more
E : Air outlet guide (procured at the site)
F : 250 mm or more
C
A
B
C
A
B
A
B
B
B
A
B
C
E
D
F

Table of Contents

Related product manuals