EasyManua.ls Logo

Lode Valiant - Control Unit Overview; Buttons and Indicators

Default Icon
25 pages
Print Icon
To Next Page IconTo Next Page
To Next Page IconTo Next Page
To Previous Page IconTo Previous Page
To Previous Page IconTo Previous Page
Loading...
Operator Manual Valiant
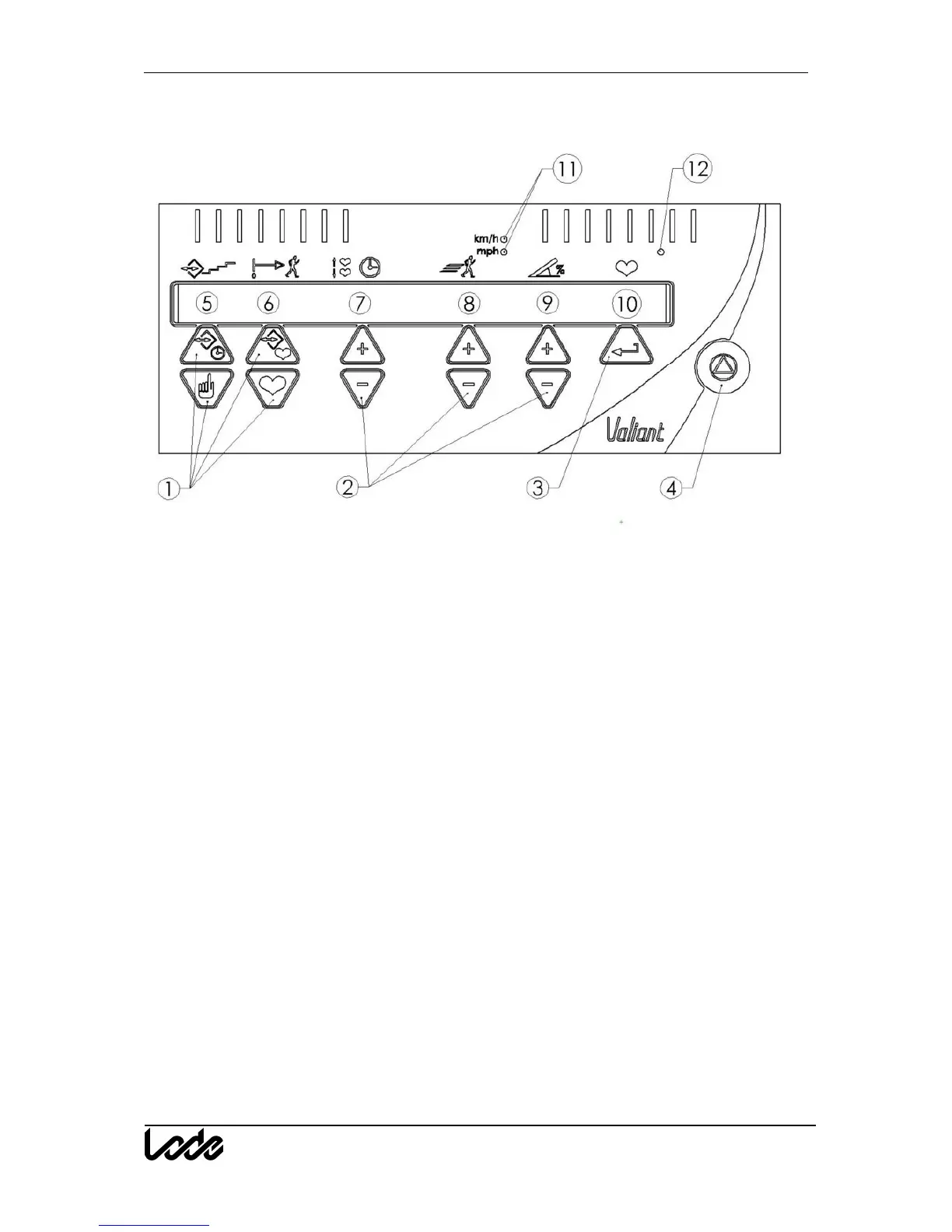
Fig. 3 Control Unit / Bedieneinheit/Bedieningspaneel

Related product manuals