EasyManua.ls Logo

Lutron Electronics CD-4318SD - 3 Front Panel Description

Lutron Electronics CD-4318SD
31 pages
Print Icon
To Next Page IconTo Next Page
To Next Page IconTo Next Page
To Previous Page IconTo Previous Page
To Previous Page IconTo Previous Page
Loading...
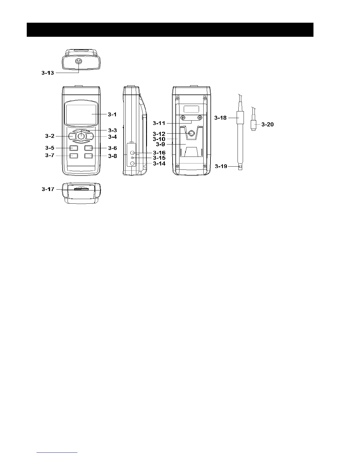
3. FRONT PANEL DESCRIPTION
Fig.1
3-1 Display
3-2 Power Button ( Backlight Button )
3-3 Hold Button
3-4 REC Button
3-5 Range Button ( Button )
3-6 Function Button ( Button )
3-7 Time Button (SET Button)
3-8 Enter Button ( Logger Button )
3-9 Stand
3-10 Battery Compartment/Cover
3-11 Battery Cover Screw
3-12 Tripod Fix Nut
3-13 Probe Socket
3-14 DC 9V Power Adapter Input Socket
3-15 Reset Button 3-18 Probe Handle
3-16 RS-232 Output Terminal 3-19 Sensing head
3-17 SD card socket 3-20 Probe Plug
6

Related product manuals