EasyManua.ls Logo

M-system 53U - SETTING EXAMPLES; SETTING INPUT CONFIGURATION; SETTING ANALOG OUTPUT

M-system 53U
52 pages
Print Icon
To Next Page IconTo Next Page
To Next Page IconTo Next Page
To Previous Page IconTo Previous Page
To Previous Page IconTo Previous Page
Loading...
53U
5-2-55, Minamitsumori, Nishinari-ku, Osaka 557-0063 JAPAN
Phone: +81(6)6659-8201 Fax: +81(6)6659-8510 E-mail: info@m-system.co.jp
EM-6485-B Rev.21 P. 50 / 52
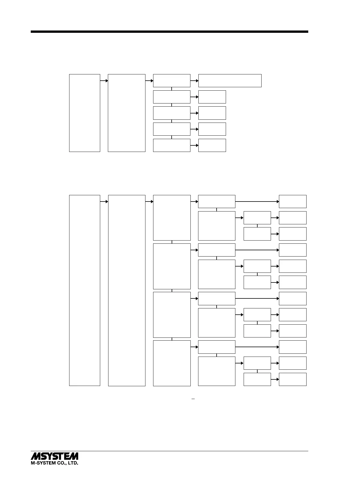
SETTING EXAMPLES
SETTING INPUT CONFIGURATION
Input system: Three-phase / 3-wire, unbalanced load
CT ratio: 300 A / 5 A
VT ratio: 6600 V / 110 V
Input Setting
(INPUT)
System configuration
(SYSTEM)
3P3W-UB : 3-phase/3-wire unbalanced
CT rating, primary
(CT-PRI)
300A
CT rating, secondary
(CT-SEC)
5A
VT rating, primary
(VT-PRI)
6600V
VT rating, secondary
(VT-SEC)
110V
Change Setting
(SETTINGS)
SETTING ANALOG OUTPUT
CH1: Voltage, 0 – 9000 V input, 4 – 20 mA output
CH2: Current, 0 – 150 A input, 4 – 20 mA output
CH3: Active power, 0 – 1715 kW, 4 – 20 mA output
CH4: Power factor, LEAD 0.5 – 1 – LAG 0.5, 4 – 20 mA output
Change Setting
(SETTINGS)
Analog Output Setting
(AOUT)
Assigned measurand
(INPUT)
CH1
Prorportional output
(LINEAR)
Input 0%
(IN0P)
0.00%
136.36% *
1
Input 100%
(IN100P)
U
Assigned measurand
(INPUT)
CH2
Prorportional output
(LINEAR)
Input 0%
(IN0P)
0.00%
50.00% *
2
Input 100%
(IN100P)
I
Assigned measurand
(INPUT)
CH3
Prorportional output
(LINEAR)
Input 0%
(IN0P)
50.00%
75.00% *
3
Input 100%
(IN100P)
P
Assigned measurand
(INPUT)
CH4
Prorportional output
(LINEAR)
Input 0%
(IN0P)
62.50%
87.50%
Input 100%
(IN100P)
T-PF
*1. 9000 = 1.36 x 6600 (primary VT rating)
*2. 150 = 0.5 x 300 (primary CT rating)
*3. 1715 kW = 75% of the full scale range -3429 to +3429 kW (6600 x 300 x 3 /
3 )
0 = 50% of the full scale range -3429 to +3429 kW.

Other manuals for M-system 53U