EasyManua.ls Logo

Marantz SR5600 - IC Data Sheets and Pinouts

Marantz SR5600
101 pages
Print Icon
To Next Page IconTo Next Page
To Next Page IconTo Next Page
To Previous Page IconTo Previous Page
To Previous Page IconTo Previous Page
Loading...
51
11. IC DATA
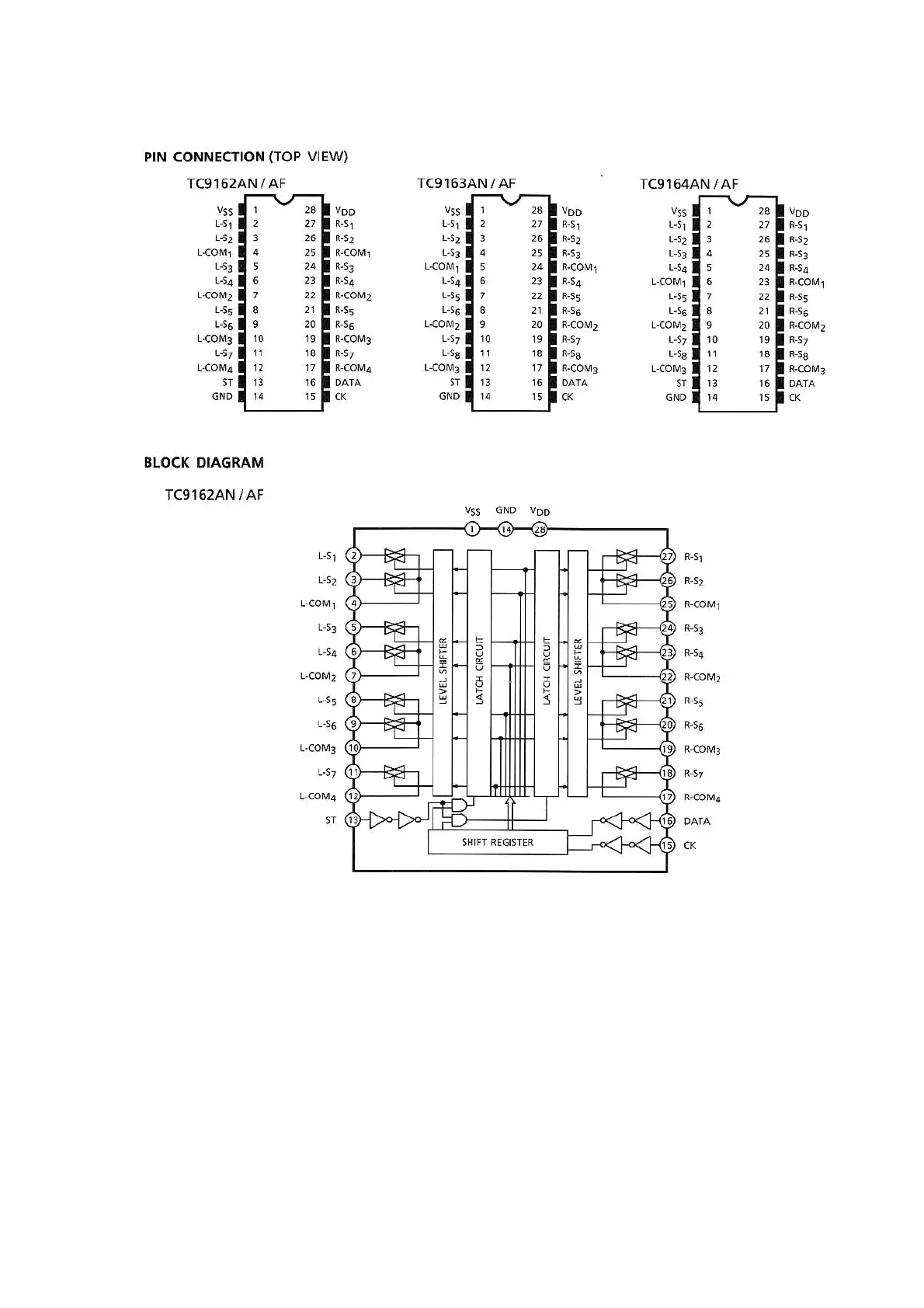
IC21: TC9162,3,4

Other manuals for Marantz SR5600

Related product manuals