EasyManua.ls Logo

Marantz SR7300 - Page 44

Marantz SR7300
63 pages
Print Icon
To Next Page IconTo Next Page
To Next Page IconTo Next Page
To Previous Page IconTo Previous Page
To Previous Page IconTo Previous Page
Loading...
60
VC
Component
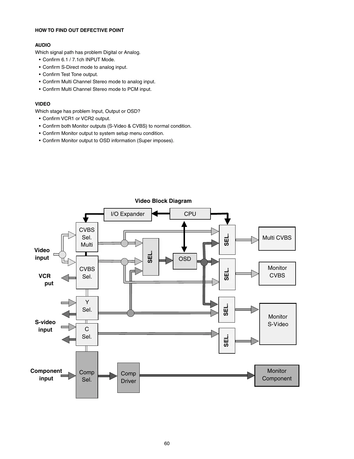
Video Block Diagram
CPU
I/O Expander
SEL. SEL.
SEL.
SEL.
OSD
SEL.
CVBS
Sel.
CVBS
Sel.
Multi
Y
Sel.
C
Sel.
Comp
Sel.
Comp
Driver
Monitor
CVBS
Multi CVBS
Monitor
S-Video
Monitor
Component
Video
input
S-video
input
input
R
put
HOW TO FIND OUT DEFECTIVE POINT
AUDIO
Which signal path has problem Digital or Analog.
Confi rm 6.1 / 7.1ch INPUT Mode.
Confi rm S-Direct mode to analog input.
Confi rm Test Tone output.
Confi rm Multi Channel Stereo mode to analog input.
Confi rm Multi Channel Stereo mode to PCM input.
VIDEO
Which stage has problem Input, Output or OSD?
Confi rm VCR1 or VCR2 output.
Confi rm both Monitor outputs (S-Video & CVBS) to normal condition.
Confi rm Monitor output to system setup menu condition.
Confi rm Monitor output to OSD information (Super imposes).
All manuals and user guides at all-guides.com

Other manuals for Marantz SR7300

Related product manuals