EasyManua.ls Logo

Masport SOFIA - ECS II WIRING DIAGRAMS; ECS II IB Schematic Electrical Layout

Masport SOFIA
69 pages
Print Icon
To Next Page IconTo Next Page
To Next Page IconTo Next Page
To Previous Page IconTo Previous Page
To Previous Page IconTo Previous Page
Loading...
Page 21
FLUEING INTRODUCTION
The Grenada/Calais uses the "balanced flue" technology Co Axial system. The inner liner flues products of
combustion to the outside while the outer liner draws outside combustion air into the combustion chamber thereby
eliminating the need to use heated room air for combustion and losing warm room air up the chimney.
Note: These flue pipes must not be connected to any other appliance.
The gas appliance and flue system must be flued directly to the outside of the building, and never be attached to a
chimney serving a separate solid fuel or gas burning appliance. Each room sealed gas appliance must use it's own
separate flue system. Common flue systems are prohibited.
This flueing system has been tested and listed as a room sealed heater system by Warnock Hersey. The location of the
termination cap must conform to the requirements in the flue terminal Locations diagram.
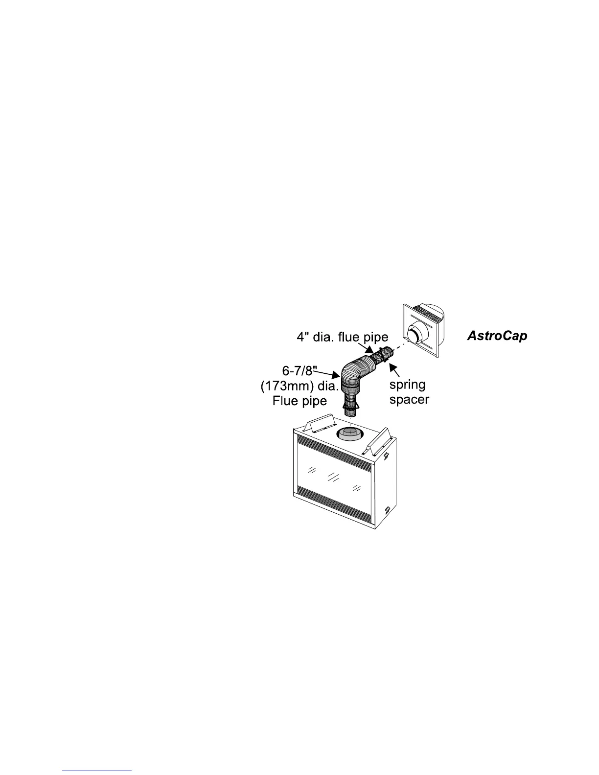
Masport Direct Vent (Flex) System Termination Kit (Part # 946-125) includes all the parts needed to install the
Grenada/Calais with a maximum run of 4 feet.
1) 6-7/8" dia. flexible liner (2 ft. length)
2) 4" dia. flexible liner (2 ft. length)
3) Spring spacers (3)
4) Thimble (2)
5) AstroCap termination cap (1)
6) Screws (12)
7) Tube of Mill Pac (1)
8) Plated screws (8)
9) Screws #8 x 1-1/2" drill point, stainless steel (4)
Notes:
1) Liner sections should be continuous
without any joints or seams.
2) Only Flex pipe purchased from Masport
may be used for Flex installations.
3) If you are installing the Grenada/Calais into a
Masport Mantel Kit, use the minimum
horizontal vent height (centreline
of 1029mm). Remember to include
the mantel base in your calculations
and to maintain the 32mm clearance
(51mm with Flex) to the underside of
the mantel top.
946-578/P

Other manuals for Masport SOFIA

Related product manuals