EasyManua.ls Logo

Maytag LAT8014 - LAT9714, LAT9704 Electrical Schematics

Maytag LAT8014
184 pages
Print Icon
To Next Page IconTo Next Page
To Next Page IconTo Next Page
To Previous Page IconTo Previous Page
To Previous Page IconTo Previous Page
Loading...
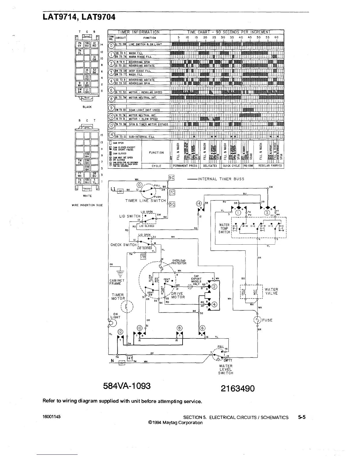
LAT9714, LAT9704
r-----..""::::-------«~
--INTERNAL
TIMER
BUSS
BU
BU
YL
1-----
I
WATER:
H!c
TEMP
I
w-c
SWITCH
lc-c
L--
__
-j
t _
SB
12
RD
RD
LID
OPEN
LID
SWITCH
f;----:sw
BK
~_.:.:12OQ-~"
;
RD
LID
CLOSED
~-',--o,~9-=-
- -
__
~
-4SW
=+=+--""---"'-<:1,4--- '
E9
'~USH
TIMER
LINE
SWITCH
TIMER
INFORMATION
TIME
CHART
-
90
SECONDS
PER
INCREMENT
CAM
CIRCUIT
FUNCTION
5
10
15
20
25
30
35
40
45
50
55
60
NO.
@)
UTa
SW
LINE
SWITCH
a
ON
LIGHT
CD
SB
TO
3
WASH
FILL
-
1-
1II1II-
B
TO
7A
WARM
RINSE
FILL
xm!
® 21T09
REVERSING
SPIN
III!
IilIIIIII
~
li!llI
!1
IIll!
11lI!IlI!~
-
2
21
TO
32
REVERSING
AGITATE
-
-
1111
IIlII
-
1I11III
3\~W
TO
SB
DEEP
RINSE
FILL
III!
IIll!
/sw
TO
7
WASH
FILL
I-
I-
IIlII
-
022
TO
9
REVERSING
AGITATE
-
1111
m
IIlII
~
-
IIlI!IlI!I
1II1II
4/
122
TO
32
REVERSING
SPIN
11I!1IlII1IIIII
li!llI IIll!
-
0,6
TO
32
MOTOR
-
REGULAR
SPEED
1l1li>1
0"
TO
TM
MOTOR
NEUTRAL
INT.
-
-
®SW
TO
SO
SOAK
LIGHT
(NOT
USED)
,-
m
@I6TOTM
MOTOR
NEUTRAL
INT.
16
TO
31
MOTOR
-
SLOW
SPEED
,-
~I
-
@7NTOTM
SPIN
a
TIMER
MOTOR
BYPASS
11II1IlII1IIII
IIIlII
-
111m
,-
-
@SB
TO
12
SUB-INTERVAL
FILL
I~
I~
I~
11*1
o
CAM
OPEN
'"
'"
'"
'"
w
~
~
~ ~
~
z
~
CAM
CLOSED
EXCEPT
~
'"
'"
FOR
SHORT
PAUSE
3'
3'
3'
ir
m
CAM
CLOSED
FUNCTION
'" '"
'"
'"
'"
~
z
z
:::
z
~
z
~
~
~
z
~
CAM
MAY
BE
OPEN
~
e;
~
e;
~
e;
~
~
e;
OR·
CLOSED
;;:
~
;;:
;;:
;;:
;;:
8
~~s~~o~o~
~tNE~~~
CYCLE
PERMANENT
PRESS
DELI
CATES
QUICK
CYCLE
PRE-SOAK
REGULAR
FABRICS
FOR
30
S[COIlOS
WHITE
BLACK
WIRE INSERTION SlOE
YL
TM
31
GN
CABINET
FRAME
TIMER
MOTOR
I
I
I
\
'-
ON
LIGHT
YL
N
M
OVERLOAD
//,........
X,PROTECTOR
"
~_L-_----c\<>-,W",H,--
.....,
, \ 9
I
CENT
~
I SW I
"
feR
\ I
21
\
.....
/DRIVE
- 22 MOTOR
32
BK
t.:R::D
-1...::;;,......
L
-'B"'K~32
DR
OR
BU
I
I
WATER
Ie
>-
I
I~
~
1
VALVE
18
I
WH
l_
_1
WH
WH
,
,
')
FUSE
\
, ,
BR
WATER
LEVEL
SWITCH
584VA-1093
2163490
Refer to wiring diagram supplied with
unit
before attempting service.
16001145
SECTION
5.
ELECTRICAL CIRCUITS I SCHEMATICS
©1994 Maytag Corporation
5-5

Table of Contents

Related product manuals