EasyManua.ls Logo

Maytag LAT8014 - LAT8504, LAT3914 Electrical Schematics

Maytag LAT8014
184 pages
Print Icon
To Next Page IconTo Next Page
To Next Page IconTo Next Page
To Previous Page IconTo Previous Page
To Previous Page IconTo Previous Page
Loading...
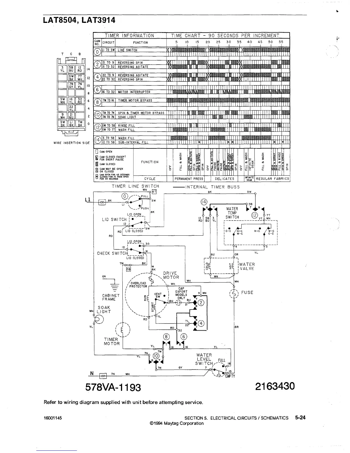
LAT8504, LAT3914
TIMER INFORMATION TIME CHART -
90
SECONDS
PER
INCREMENT I
CAM
CIRCUIT
NO.
FUNCTION
5
10
15
20
25
30 35
40
45
50
55
T B
®U
TO
SW
LINE
SWITCH
rjQ\!TM
TO
7NI
SPIN
e.
TIMER
MOTOR
BYPASS
II
I 1II1
ffI!
IIilIIil
_ I
IIII
II
WfIl
_ I
~
7N
TO
7N
SOAK
LIGHT
IIiil!i
!lIl!l
IIiII1IIII
;)i
> >
X X
W
V> V>
V>
<t
- z
-
<t
<t
z
;0
;Ow
;0
trg;
.
.
~
~~
FUNCTION
'"
.
.
~
~
'"
.
'"
.
"-
.J
;,
Z
;,
"-
:-~
;,
"-
.J
-0
.J
ii:~~
z
"-
.J
~~
-~
"-
"-
"-
~
~tn
.J
-
"-
0
i;:
0
V>
0
"--
i;:
.
"-
.
V>
I1II
III
INiir:::
E
REGULAR
FABRICS
DELI
CA
TES
I
IIII
PERMANENT
PRESS
1111
1111
III
*II
I
11I1
1111-
f*l11
I
II
1111
1111 1111
ffI!
I
~
II
I
1111
11111Iil111
I II I
II
1III
II
WfIl
III
IIWfIl~
III
II I
~I'M
IIiil!i
II
I
III1
III
II
[I
I!1l
~i!A~
IIiil!i
CYCLE
o
CAM
OPEN
[l
CAM
CLOSED
EXCEPT
laI
FOR
SHORT
PAUSE
~
CAM
CLOSED
~
CAM
MAY
BE
OPEN
~
OR
CLOSED
8
C.AM
OPEN
FOR
45
SECONDS
CLOSED
FOR
15
TliEN
OPEN
FOR
30
SECONDS
r,:;j\ 3
TO
5B
WASH
FILL
~
12
TO
5B
SUB-INTERVAL
FILL
4
8 ®
16
TO
32
MOTOR
INTERRUPTER
01
TM
TO
16
I TIMER
MOTOR
8YPASS
1r::;:;=:;:::;:::;=JJ
0@2\ISWT05BIRINSEFILL
~
SW
TO
7T
WASH
FILL
WIRE
INSERTION
SIDE
--INTERNAL
TIMER
BUSS
BK
7T
WH
--...,...--,
I
I
I
I
I
,
I
I
____
J
3
YL
SW
"
FUSE
j
BR
OR
-I
:WATER
:VALVE
-'
'4----------
@
....
.11
I
I
I
I
C-C
1
1
I
I
'---
YL
BU
r-
Io
'.J
10
I"
1_-
12
5B 3
RD
BU
YL
9
WH
BK
RD
LID
OPEN
LID SWITCH
:.----:
12
I I
...
-----lSW
RD
LID
CLOSED
LID
DPEN
,----.-...,:')-'3_D
----,
12
I
CHECK
SWITCHL J M
LID
CLDSED
TIMER
LINE
SWITCH
WH
~
@/'-
PULL
L:.,:l=-+--t<X>t--"B,,-K
---,-:-<>f-<'
....-- SW
LI
'",-
_ _
PUSH
2163430
Refer
to
wiring diagram supplied with unit before attempting service.
16001145 SECTION 5. ELECTRICAL CIRCUITS
ISCHEMATICS
5-24
©1994 Maytag Corporation

Table of Contents

Related product manuals