EasyManua.ls Logo

Mazda CX-5 - Light Bulbs

Mazda CX-5
733 pages
Print Icon
To Next Page IconTo Next Page
To Next Page IconTo Next Page
To Previous Page IconTo Previous Page
To Previous Page IconTo Previous Page
Loading...
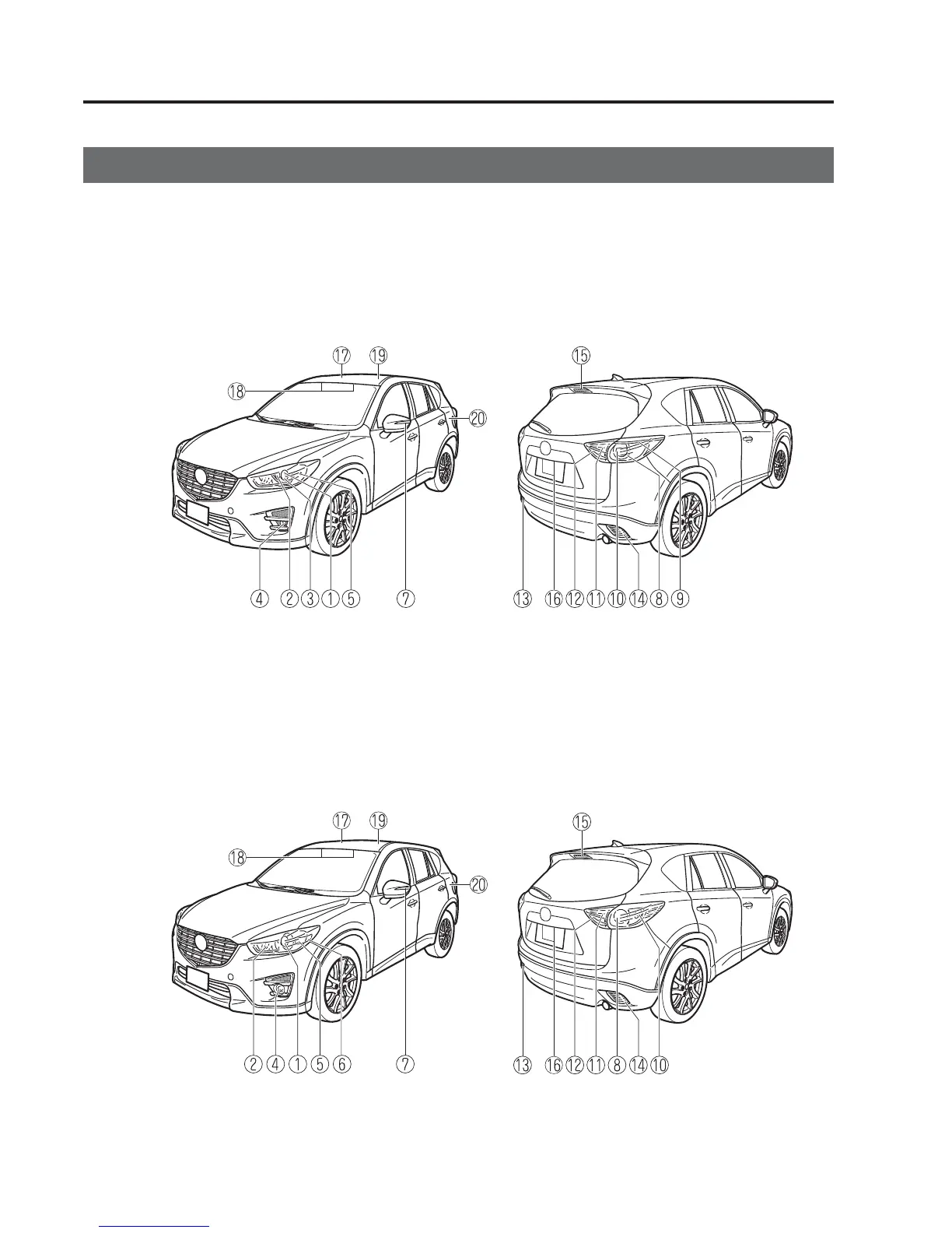
Light Bulbs
With LED headlights
With halogen headlights
6-50
Maintenance and Care
Owner Maintenance

Table of Contents

Other manuals for Mazda CX-5

Related product manuals