EasyManua.ls Logo

McQuay MicroTech II N2 - Application; Component Data; N2 Network Connection; Figure 2. Microtech II N2 Communication Module Major Components

McQuay MicroTech II N2
12 pages
Print Icon
To Next Page IconTo Next Page
To Next Page IconTo Next Page
To Previous Page IconTo Previous Page
To Previous Page IconTo Previous Page
Loading...
IM 730-0 5
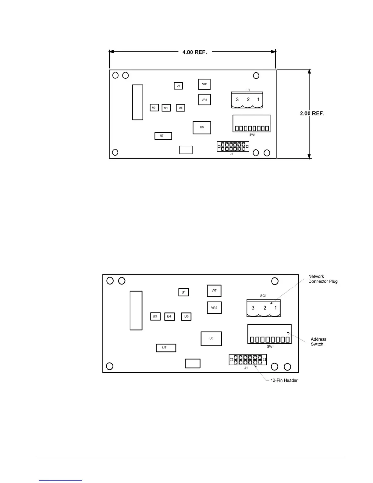
Figure 1: N2 communication module
Application
The MicroTech II N2 communication module connects the MicroTech II Unit Controller to the
Building Automation System (BAS) on a N2 Local Area Network. It is the interface for the
exchange of N2 points between the network and the Unit Controller.
Component Data
Figure 2 shows the major components of the communication module.
Figure 2. MicroTech II N2 communication module major components
N2 Network Connection
N2 network wiring connections are made to SG1 (Network Connector Plug). This connector is
physically made in two parts, a board-mounted (3-terminal) male plug and a (3-terminal) female plug
with screw-type wiring connections.

Related product manuals