EasyManua.ls Logo

McQuay PDAC - Anchoring and Other Installation Steps

McQuay PDAC
36 pages
Print Icon
To Next Page IconTo Next Page
To Next Page IconTo Next Page
To Previous Page IconTo Previous Page
To Previous Page IconTo Previous Page
Loading...
IM 882 / Page 12 of 36
Electrical Service
All wiring should be in accordance with all local andNa-
tional Electrical Code requirements.
Units are supplied with an attachment cord and plug which
exit from the bottom of the conditioner on the control side.
The cord for 115V, 208V and 230V has a usable length of
72" (1829mm) from where it exits the conditioner. The use
of extension cords to increase the length of the plug/cord
set is not recommended.
The attachment plug size should be used to determine the
circuit ampacity and overcurrent protection. Time delay,
overcurrent protection devices are recommended to pre-
vent unit damage and to avoid nuisance tripping.
Outlets are generally located beneath the conditioner, on
or recessed in the wall so it is concealed by the conditioner
overhang and kickplate.
Cooling Chassis Installation
Correct installation of the cooling chassis is extremely
important to insure the proper operation of the unit. Install
the chassis as follows:
1. Remove outer carton and inspect for any shipping
damage. Report any found to the carrier.
2. Check nameplate data on chassis to insure that the
correct job site distribution has been made with
respect to cooling capacities. Generally, corner
rooms require larger capacities.
3. Remove chassis from carton by pulling evenly on
substantial portion of unit. Caution: Do not pull on
evaporator fan housing, control box or compressor.
4. If wall sleeve has been previously installed, remove
temporary weather panel.
5. Check all fasteners to make certain they have
not come loose during shipment. Do not loosen
nuts holding down compressor; they are set at the
factory.
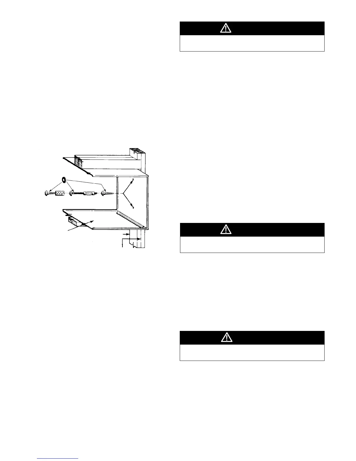
Anchoring
Anchoring the wall sleeve in the opening is accomplished
as shown in Figure 15. It is recommended that rubber isola-
tion washers be used with the fasteners to minimize sound
transmission from the equipment to the wall, at the point
of contact.
A 5⁄16" (8mm) hole is provided on each side, 2" (51mm)
down from the top and 2" (51mm) in from the rear of the
wall sleeve. It may be necessary to drill additional holes
in the wall sleeve to rmly secure it. Caution: Do not drill
holes in the base of the wall sleeve. Use shims between
the wall and the wall sleeve to prevent sleeve distortion
during anchoring.
Installation of Louvers
1. Remove louver from its shipping carton which
also contains a hardware package for mounting the
louver.
2. Remove outside weather plug and weather panel
from wall sleeve.
3. Make a temporary handle by looping a piece of
exible wire or heavy cord through the louver. This
enables the installer to keep a rm grasp on the
louver when installing from inside the room.
4. Push the louver through the opening at the rear of
the wall box, then pull the louver back to the wall
sleeve ange so that the louver studs pass through
the holes in the ange.
5. Attach washers and nuts and secure louver in place.
6. If the cooling chassis is not to be immediately
installed, replace the weather panel.
The chassis weighs approximately 150 lbs. Use blocking
and lifting devices. Do not raise over any body parts.
WARNING
Improper electrical supply can cause property damage,
severe personal injury or death.
WARNING
Do not lift by pulling on the tubing. Tubing can crack or
bend damaging the unit.
CAUTION
Figure 15. Anchoring the Wall Sleeve (all anchoring
hardware eld supplied)
Expansion
Anchor Bolt
Molly or
Toggle Bolt
Wood
Screw
Do Not Drill Holes in Bottom of
Sleeve (Except for Internal Drain Kit)
Cripple Stud
Main Stud
Rubber
Isolation
Washer

Table of Contents

Related product manuals