EasyManua.ls Logo

Mec 2633ES - Page 242

Default Icon
260 pages
Print Icon
To Next Page IconTo Next Page
To Next Page IconTo Next Page
To Previous Page IconTo Previous Page
To Previous Page IconTo Previous Page
Loading...
October 2008 "2033ES / 2633ES" Service & Parts Manual - ANSI Specifications
Page E-28
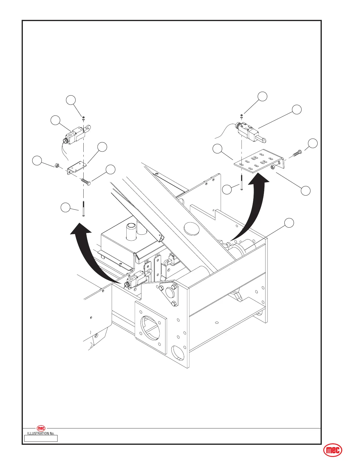
ART_2327
Limit Switches Installation, X33ES - X47ES
1
2
1
5
6
7
8
9
11
12
13
14
15

Table of Contents

Related product manuals