EasyManua.ls Logo

Mec Micro 19 - Platform

Mec Micro 19
84 pages
Print Icon
To Next Page IconTo Next Page
To Next Page IconTo Next Page
To Previous Page IconTo Previous Page
To Previous Page IconTo Previous Page
Loading...
Page 56 Micro 19 - Service & Parts Manual
November 2019
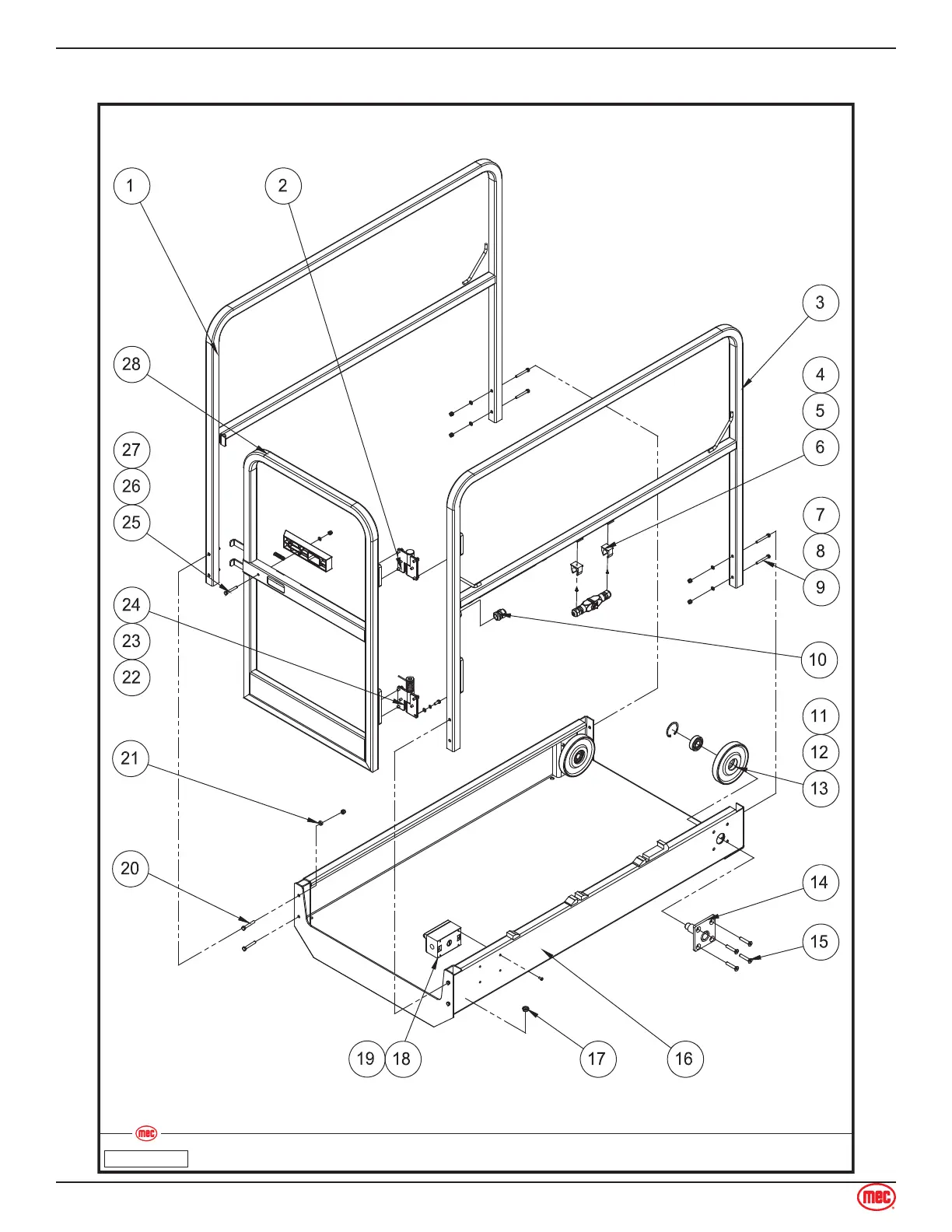
Main Platform Assembly
Main Platform AssemblyMicro 19
Art_5540
ILLUSTRATION No.
Section 15 - Platform
Main Platform Assembly

Table of Contents

Related product manuals