EasyManua.ls Logo

Meto mn-4 - Setting up the Printer; Introduction to Printer Setup; Power and Interface Connectivity

Meto mn-4
61 pages
Print Icon
To Next Page IconTo Next Page
To Next Page IconTo Next Page
To Previous Page IconTo Previous Page
To Previous Page IconTo Previous Page
Loading...
mn-4203
7
3
3.0 Introduction
This chapter explains how to connect your printer, load media and
ribbon (optional), and print a configuration label.
3.1 Connecting the Printer
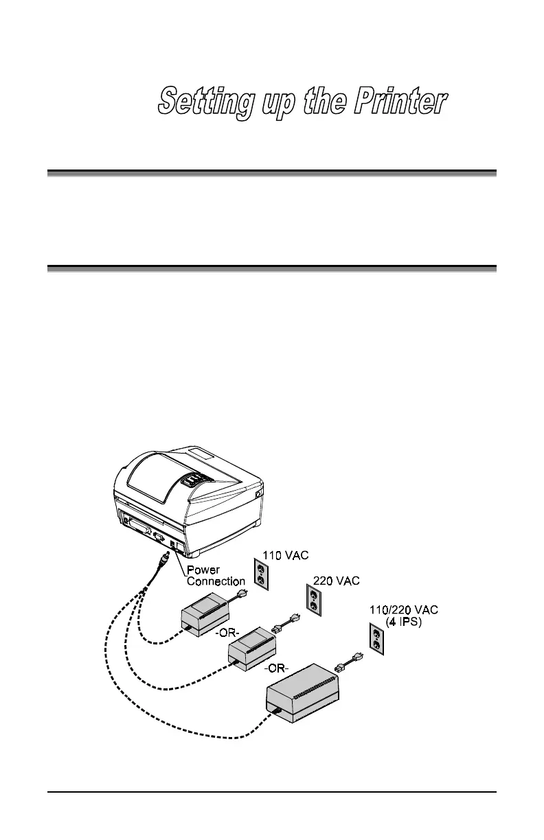
3.1.1 Power Connection
The printer is powered from an external power supply that connects to
the printer as shown below. Power supplies are available in both 110
and 220 AC voltages as well as an auto-ranging (110V/220V) power
supply for the printer’s 4 IPS (inches per second) print speed option.
Ensure that the power supply shipped with your printer matches your
electrical service.