EasyManua.ls Logo

Mi Swaco 414

Default Icon
114 pages
To Next Page IconTo Next Page
To Next Page IconTo Next Page
To Previous Page IconTo Previous Page
To Previous Page IconTo Previous Page
Loading...
49
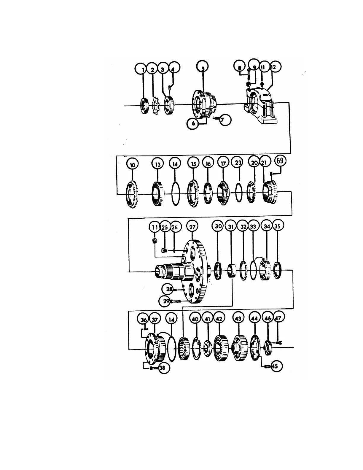
Diagram 3 (414 Centrifuge Gearbox End Assembly)