EasyManua.ls Logo

Midea MTA-76C(H)RN1 - Page 132

Midea MTA-76C(H)RN1
156 pages
Print Icon
To Next Page IconTo Next Page
To Next Page IconTo Next Page
To Previous Page IconTo Previous Page
To Previous Page IconTo Previous Page
Loading...
Midea R410A T3 Top-discharge Split Type Series 50Hz MCAC-UTSM-201501
131
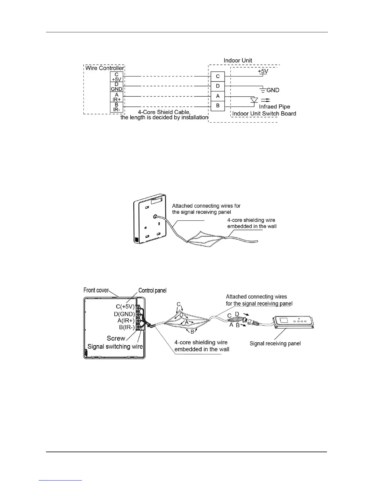
Wiring principle sketch:
Wiring figure:
Connect two terminals of embedded 4-core shielding wire with the switching wires of wired
controller and signal receiving board. Make sure the sequence of 4 terminals (A, B, C and D)
should correspond to the wire sequence of signal switching wires (A, B, C and D).
If the embedded 4-core shielding wire cannot go through the wired controller, it can use
signal switching for connection, make sure the wires are reliable and firm.
The tightening torque range of screw is: 0.8~1.2N·m (8~12kgf·cm).
Wired controller back cover installation

Related product manuals