EasyManua.ls Logo

Midea MTA-76C(H)RN1 - Installation of Outdoor Units

Midea MTA-76C(H)RN1
156 pages
Print Icon
To Next Page IconTo Next Page
To Next Page IconTo Next Page
To Previous Page IconTo Previous Page
To Previous Page IconTo Previous Page
Loading...
Midea R410A T3 Top-discharge Split Type Series 50Hz MCAC-UTSM-201501
75
4. Installation of Outdoor Units
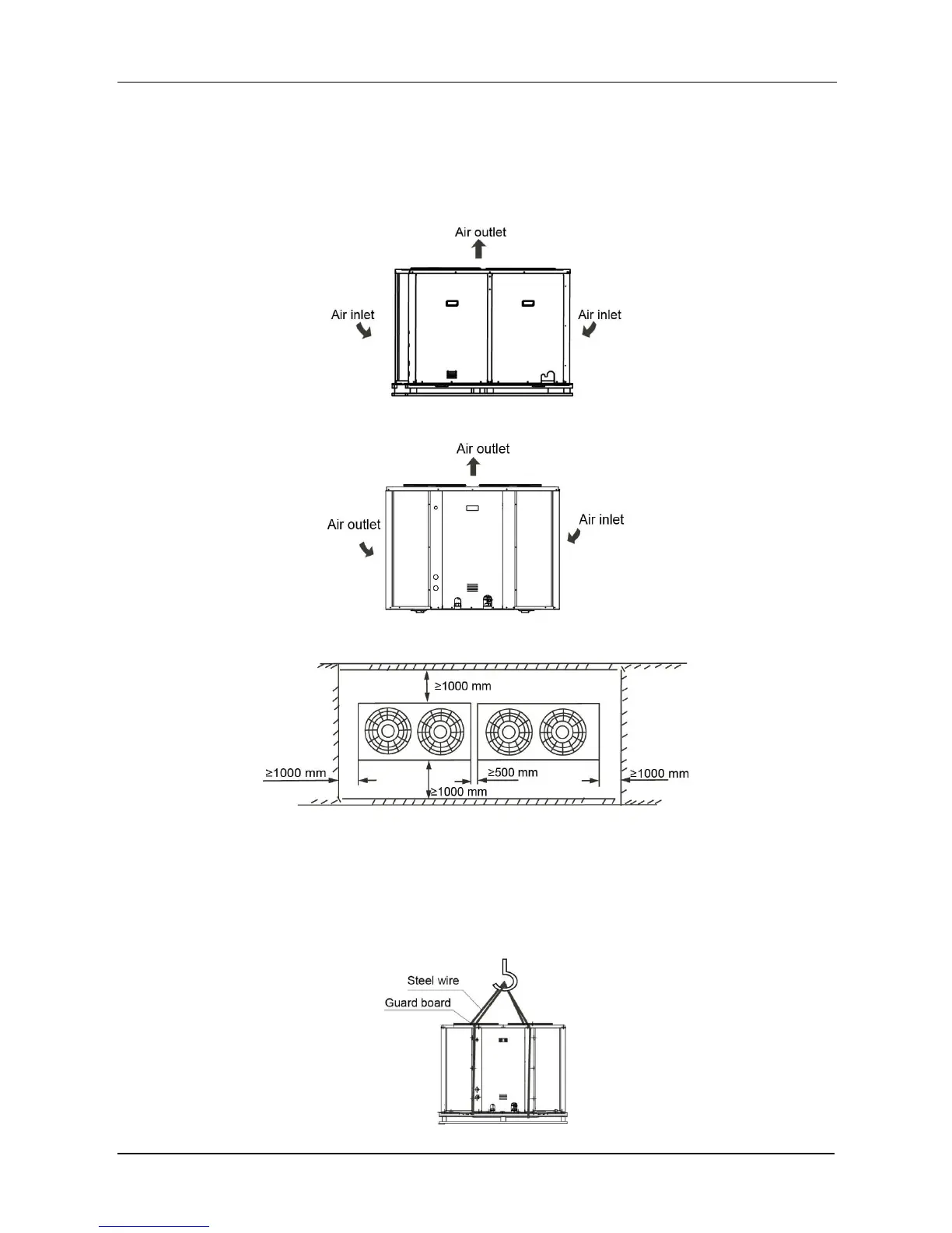
When installing the unit, leave a space for maintenance shown in the following figure. Install the
power supply at the side of the outdoor unit.
MOV-76C(H)N1-C, MOV-96C(H)N1-C
MOV-120C(H)N1-C
Use 4 steel ropes to hoist the unit and move it into the site.
In order to prevent scratch and deformity the outdoor unit, apply a guard board to the surface of
contact between the steel wire and the unit.
Remove the cushion for use in the transport after finishing the transport.

Related product manuals