EasyManua.ls Logo

Midea MTA-76C(H)RN1 - Page 134

Midea MTA-76C(H)RN1
156 pages
Print Icon
To Next Page IconTo Next Page
To Next Page IconTo Next Page
To Previous Page IconTo Previous Page
To Previous Page IconTo Previous Page
Loading...
Midea R410A T3 Top-discharge Split Type Series 50Hz MCAC-UTSM-201501
133
Use cross head screws to fix the wired controller bottom cover in the electrical box through
the screw bar. Make sure the wired controller bottom cover is on the same level after
installation, and then install the wired controller back to the bottom cover.
Over fasten the screw will lead to deformation of back cover.
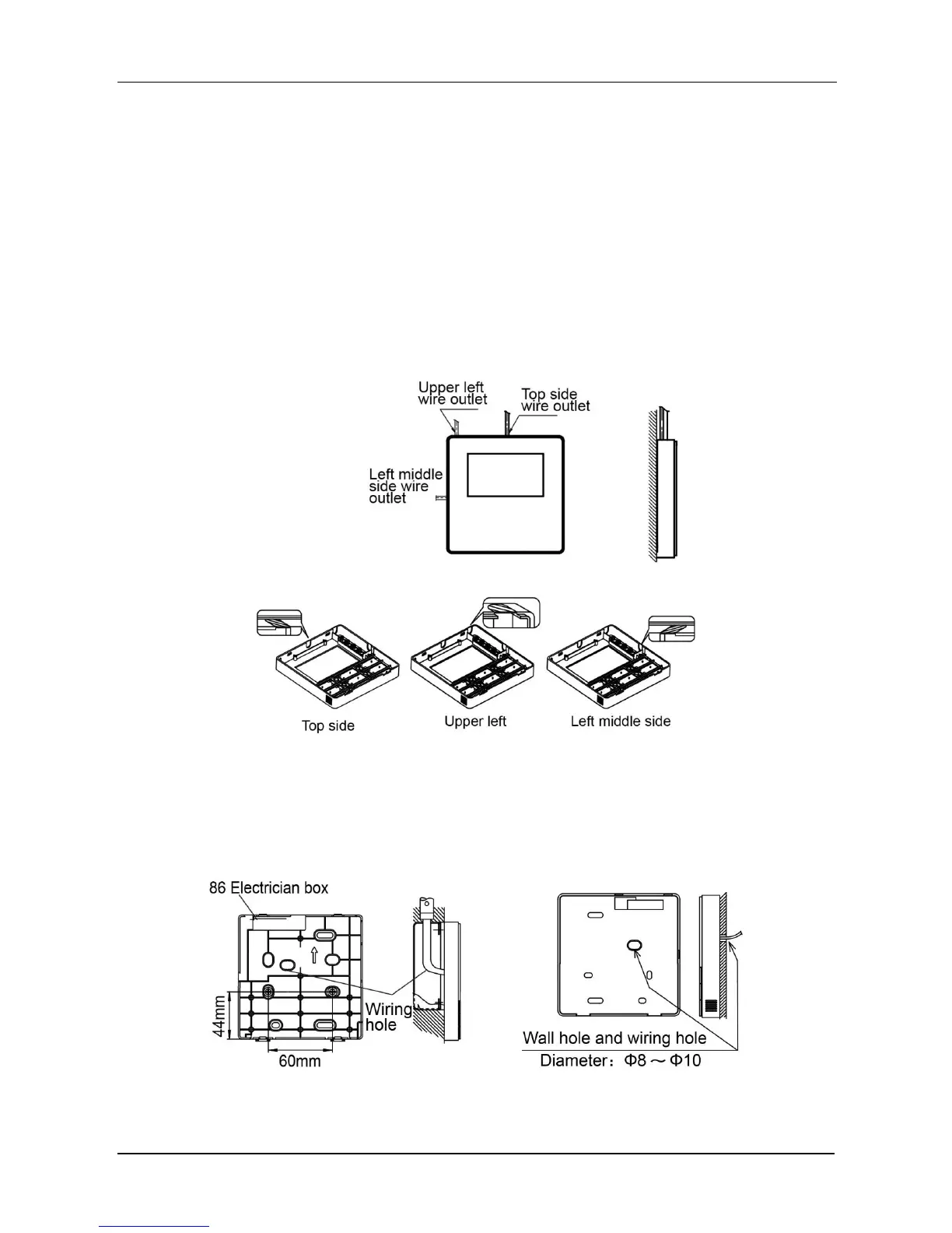
Neaten the wires of the wired controller
There are three positions of signal wire outlet around the wired controller, when the wired
controller directly is installed on the flat wall.
When the wired controller is stalled with electrician box, the back cover of wired controller is
already reserved one hole for wire outlet. It is also available for the shielded wire passing by
the wall.

Related product manuals