EasyManua.ls Logo

Miele KMDA 7634 FL - Page 84

Miele KMDA 7634 FL
100 pages
Print Icon
To Next Page IconTo Next Page
To Next Page IconTo Next Page
To Previous Page IconTo Previous Page
To Previous Page IconTo Previous Page
Loading...
Installation
*INSTALLATION*
84
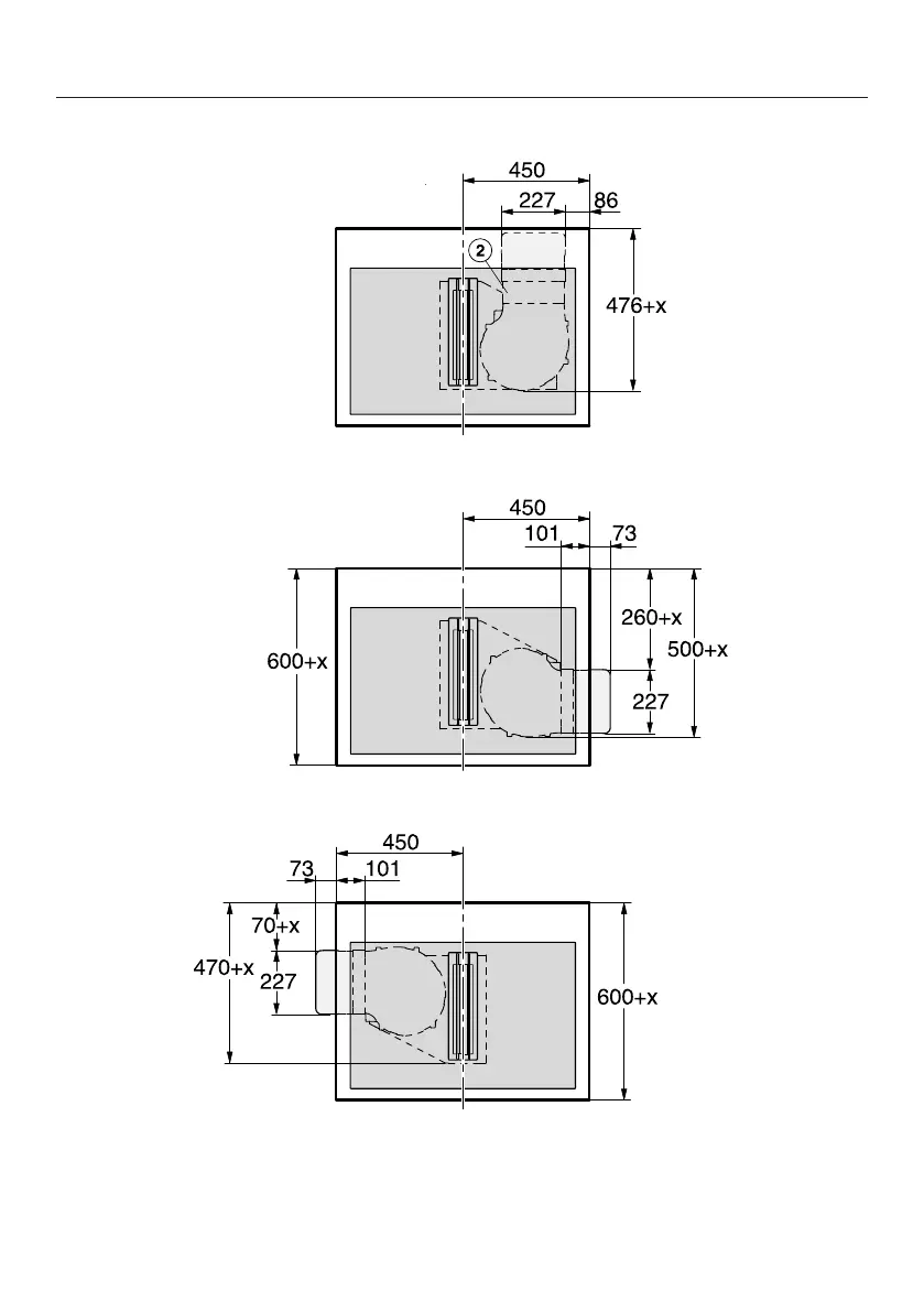
Extraction to the rear (standard)
Extraction to the right
Extraction to the left

Table of Contents

Other manuals for Miele KMDA 7634 FL

Related product manuals