EasyManua.ls Logo

Milton Roy MAXROY B - Page 44

Milton Roy MAXROY B
66 pages
Print Icon
To Next Page IconTo Next Page
To Next Page IconTo Next Page
To Previous Page IconTo Previous Page
To Previous Page IconTo Previous Page
Loading...
36
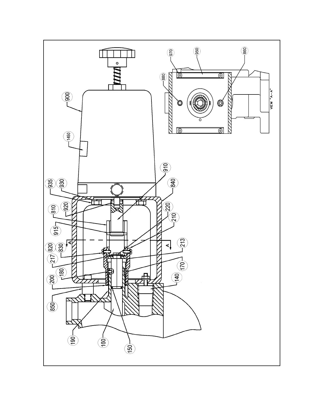
Figure 17. mRoy “B” ECC Mounting Adapter (DWG 10221460003).
www.motralec.com / service-commercial@motralec.com / 01.39.97.65.10

Table of Contents

Related product manuals