EasyManua.ls Logo

Milton Roy MAXROY B - Page 59

Milton Roy MAXROY B
66 pages
Print Icon
To Next Page IconTo Next Page
To Next Page IconTo Next Page
To Previous Page IconTo Previous Page
To Previous Page IconTo Previous Page
Loading...
51
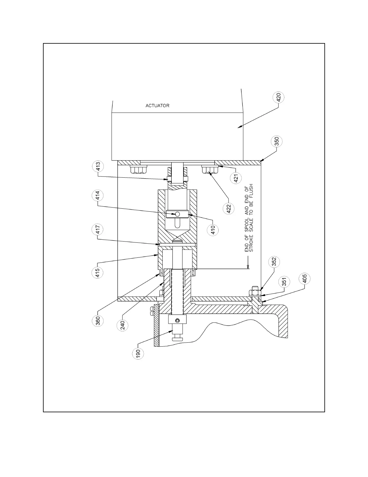
Figure 22. Milroyal D ECC Mounting Adapter (DWG. 1022906000).
www.motralec.com / service-commercial@motralec.com / 01.39.97.65.10

Table of Contents

Related product manuals