EasyManua.ls Logo

Mitsubishi Electric MELSEC FX Series - Page 238

Mitsubishi Electric MELSEC FX Series
838 pages
To Next Page IconTo Next Page
To Next Page IconTo Next Page
To Previous Page IconTo Previous Page
To Previous Page IconTo Previous Page
Loading...
7 Applied Instructions
7.5 Data Operation
236
FXCPU Structured Programming Manual
(Basic & Applied Instruction)
Function and operation explanation
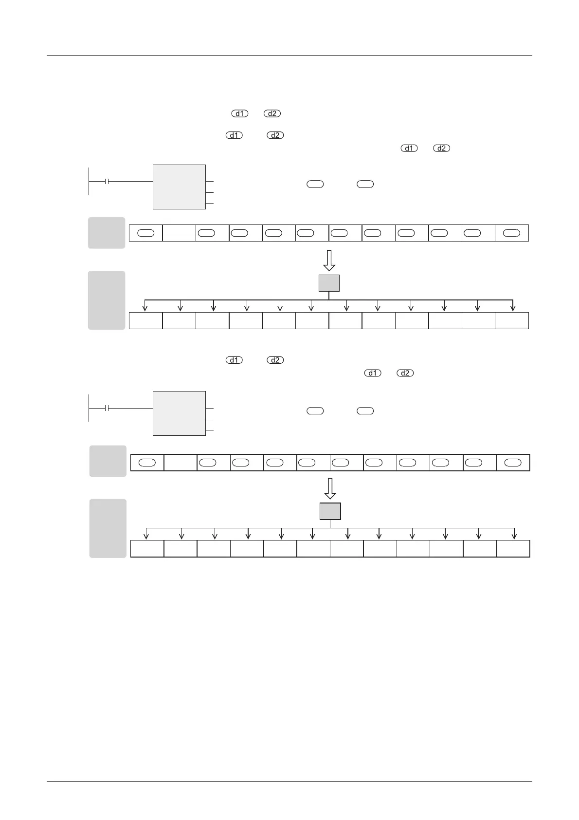
1. 16-bit operation (ZRST, ZRSTP)
Same type of devices specified by to are reset at one time.
When the devices specified by and are bit devices
"OFF (reset)" is written to the entire range from the devices specified by to at one time.
When the devices specified by and are word devices
"K0" is written to the entire range from the devices specified by to at one time.
Devices through are reset at one time.
d1 d2
Command input
Last device
Head device
ZRST
EN ENO
d1
d2
Before
execution
After
execution
Executed
OFF
OFFOFF ··· OFFOFF OFF OFF OFF OFF OFF OFF OFF
··· +2 +9 +8 +7 +6 +5 +4 +3 +1
d1d2 d1 d1 d1 d1 d1 d1 d1 d1 d1
Devices through are reset at one time.
d1 d2
Command input
Last device
Head device
ZRST
EN ENO
d1
d2
Before
execution
After
execution
Executed
K0
K0K0 ··· K0K0 K0 K0 K0 K0 K0 K0 K0
··· +2 +9 +8 +7 +6 +5 +4 +3 +1
d1d2 d1 d1 d1 d1 d1 d1 d1 d1 d1

Table of Contents

Other manuals for Mitsubishi Electric MELSEC FX Series

Related product manuals