EasyManua.ls Logo

Mitsubishi Electric Melsec-Q172DCPU - Confirming Error Code

Mitsubishi Electric Melsec-Q172DCPU
264 pages
To Next Page IconTo Next Page
To Next Page IconTo Next Page
To Previous Page IconTo Previous Page
To Previous Page IconTo Previous Page
Loading...
6 - 29
6 INSPECTION AND MAINTENANCE
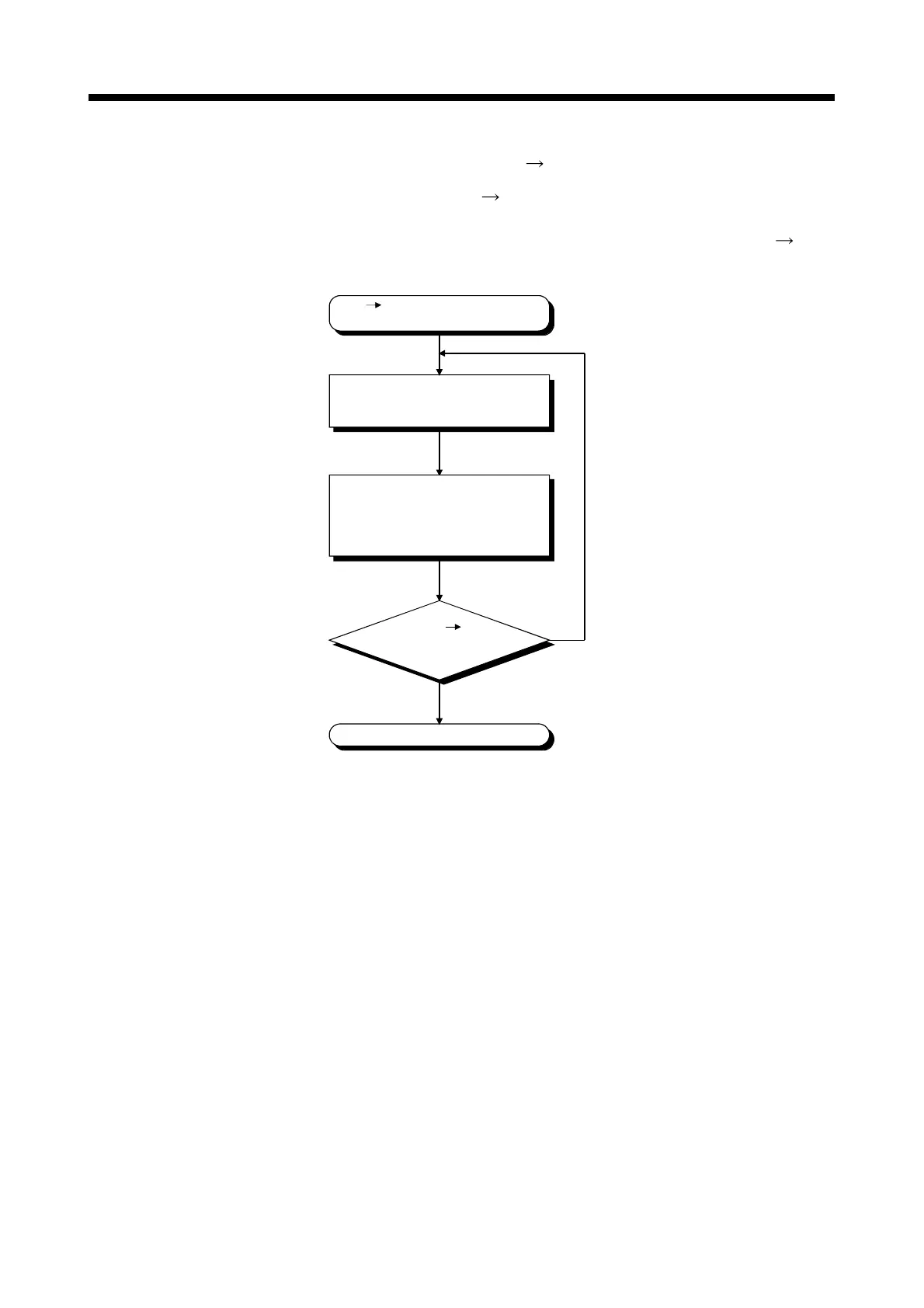
(k) Flowchart for when "AL" "S01" displays on 7-segment LED
""AL" (flashes 3 times)
Steady "S01" display" displays at the servo error
occurrence.
The following shows the flowchart for when ""AL" (flashes 3 times)
Steady "S01" display" displays on 7-segment LED during operation.
Does "AL" "S01"
disappear on
7-segment LED?
END
YES
NO
Remove the error cause of servo
amplifier, and then execute the servo
error reset (M3208+20n ON) or
re-turn on the servo amplifier power
supply.
Confirm details of error by Motion
CPU error batch monitor of
MT Developer2.
"AL" "S01" displays on 7-segment
LED.
6.6.3 Confirming error code
The error codes and error contents can be read using MT Developer2.
Refer to help of MT Developer2 for details of operating method.

Table of Contents

Related product manuals