EasyManua.ls Logo

Mitsubishi FX3U-232ADP(-MB) - 7.3 Creating Programs for Slave Station (Station No. n)

Mitsubishi FX3U-232ADP(-MB)
668 pages
To Next Page IconTo Next Page
To Next Page IconTo Next Page
To Previous Page IconTo Previous Page
To Previous Page IconTo Previous Page
Loading...
B-32
FX Series PLC User's Manual - Data Communication Edition
N:N Network
7 Creating Programs
7.3 Creating Programs for Slave Station (Station No. "n")
7.3 Creating Programs for Slave Station (Station No. "n")
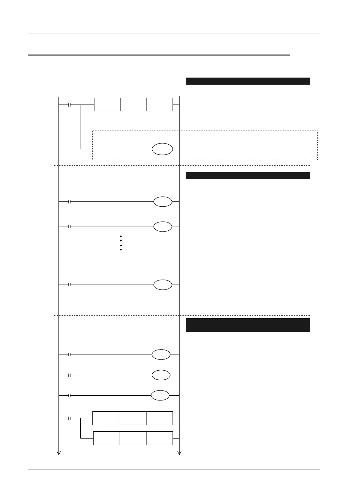
Create programs for the slave stations.
Arbitrarily create programs for reading and writing link devices.
Program for writing link devices
(slave station
master or slave station)
M8038
Parameter setting
FNC 12
MOV
K1 D8176
0
M8183
Y000
M8185
Y001
M8191
Y010
Station No. 0
Data transfer sequence error
Station No. 2
Data transfer sequence error
Data transfer sequence ON
FNC 12
MOV
K4M100
D100 D10
M1065
X000
X002
M10
M8000
K4M1070
M1064
M1066
FNC 12
MOV
Make sure to start the program for setting the N:N Network
from step 0.
Program for setting the N:N Network
Station number setting: 1 (slave station)
Set the station number of each slave station.
Only set the station number for the slave station;
Other settings are not required.
This program is required to indicate the N:N Network status.
Program for indicating link errors
When a link error occurs in station No. 0, Y000 is set to ON.
This program is required to write information from a slave
station to the master station or another slave station.
The information from X000 is written to M1064 (link device).
The information from X002 is written to M1065 (link device).
The information from M10 is written to M1066 (link device).
The information from M100 to M115 is written to M1070 to
M1085 (link devices).
The information from D100 is written to D10 (link device).
* In pattern 0, bit devices are not available.
Use word devices only.
Set the communication port to be used (in the FX
3U
and
FX
3UC
).
When using ch1, this step is not required.
When using ch2, program "OUT M8179".
M8179
Channel
setting
When a link error occurs in station No. 2, Y001 is set to ON.
Create this step for each connected slave station.
Note that the devices to be used are different depending
on the PLC Series.
For FX
0N
and FX
1S
Series:
M504 to M511 (station No. 0 to station No. 7)
For any series other than FX
0N
and FX
1S
Series:
M8183 to M8190 (station No. 0 to station No. 7)
While the N:N Network is executed, Y010 remains ON.
Note that the devices to be used are different
depending on the PLC Series.
For FX
0N
and FX
1S
Series: M503
For any series other than FX
0N
and FX
1S
Series: M8191

Table of Contents

Related product manuals