EasyManua.ls Logo

MK Martin PULSAR PLUS - Gearbox LF 140 J

MK Martin PULSAR PLUS
28 pages
Print Icon
To Next Page IconTo Next Page
To Next Page IconTo Next Page
To Previous Page IconTo Previous Page
To Previous Page IconTo Previous Page
Loading...
15
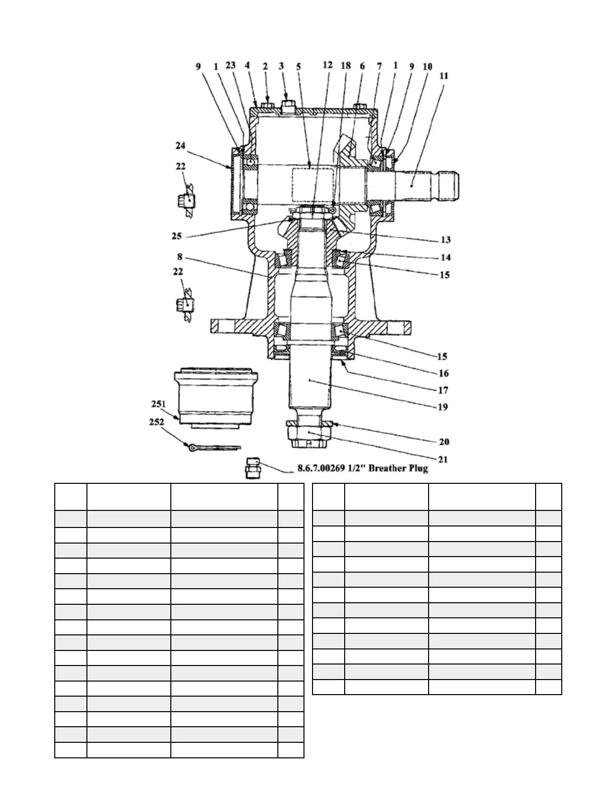
Pulsar Cutter LF 140J Gearbox
Item
#
Part # Description Qty
1 512-02487500 Shim 2
2 512-81100041 Bolt M8x22 4
3 512-86500203 1/2” Solid Plug 1
4 512-01401302 Cover 1
5 512-01247135 ID Plate 1
6 512-01326004 Crown Gear 1
7 512-80900026 Bearing 30207 1
8 512-01400300 Casting 1
9 512-85200131 Snap Ring 2
10 512-87300055 Oil Seal 35x72x10 1
11 512-01402000 Input Shaft 1
12 512-01327106 Castle Nut 1
13 512-01166204 Pinion Gear 1
14 512-07127500 Shim 1
15 512-80900469 Bearing 30210 2
16 519-87101107 Oil Seal 50x90x10 1
Item
#
Part # Description Qty
17 512-01397100 Dust Lip 1
18 512-8470111 Cotter Pin 1
19 512-01403002 Output Shaft 1
20 512-01397101 Flatwasher 1
21 512-01407102 Castle Nut 1
22 512-68500006 3/8” Plug 2
23 512-80100870 Bearing 6207 1
24 512-87000744 Oil Seal 1
25 512-01027510 Shim 1
251 512-01307000 Hub (large) 1
252 512-84700146 Cotter Pin 1