22
Installation
GB
Model 9010/9020 SIL
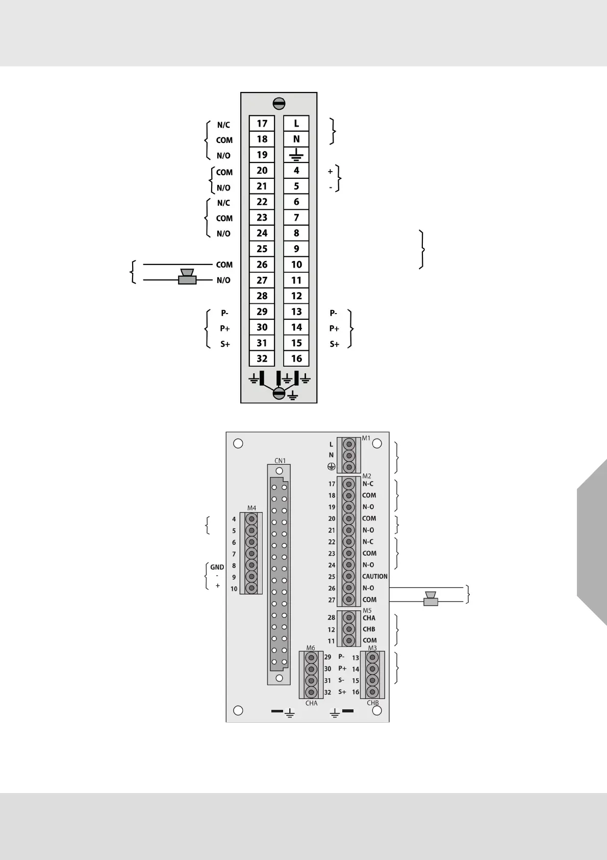
Fig. 7 19” rack version – Terminal connection with relay outputs
Fig. 8 Wall mounted version – Terminal connection
ALARM CHANNELS A and B
FAILURE CHANNELS A and B
WARNING CHANNELS A and B
SENSOR CONNECTION CHANNEL A SENSOR CONNECTION CHANNEL B (*)
CAUTION CHANNELS A AND B
ANALOG OUTPUT CHANNEL A+
HORN
(see the connection diagram on the
TECHNICAL DATA SHEET of the sensor used)
(see the connection diagram on the
TECHNICAL DATA SHEET of the sensor used)
not connected not connected
MAIN SUPPLY 100 - 230 VAC; 50 - 60 Hz
EARTH GROUND
BACK UP SUPPLY 24 VDC
HORN CUT OUT/ALARMS RESET (REMOTE)
ELECTRONIC EARTH (GROUND)
GND - EARTH (GROUND)
+ DATA
- DATA
RS 485
(120 Ohm termination resistor
across DATA+ and DATA- terminal
is required)
+ ANALOG OUTPUT CHANNEL B (*)
- ANALOG OUTPUT COMMON EARTH TO CHANNELS A+ AND B+
(*) NOT USABLE WITH MODEL 9010
BACK UP SUPPLY
24 VDC
MAIN SUPPLY
100 - 230 VAC; 50 - 60 Hz
HORN CUT OUT/ALARMS RESET (REMOTE)
ELECTRONIC EARTH (GROUND)
RS 485
ALARM
CHANNELS A AND B
FAILURE
CHANNELS A AND B
WARNING
CHANNELS A AND B
CAUTION CHANNELS A AND B
HORN
ANALOG OUTPUTS
+CHANNEL A (CHA), +CHANNEL B (CHB)
COMMON EARTH (COM)
SENSOR CONNECTION - CHANNEL A (M6)
and CHANNEL B (M3)
(SEE THE SENSORS CONNECTION DATA SHEETS)
CHANNEL B NOT USED WITH MODEL 9010
S-TERMINAL IS NOT CONNECTED
(120 Ohm termination resistor
across DATA+ and DATA- terminal
is required)