EasyManua.ls Logo

MTX 1330-X02 - Page 58

MTX 1330-X02
183 pages
Print Icon
To Next Page IconTo Next Page
To Next Page IconTo Next Page
To Previous Page IconTo Previous Page
To Previous Page IconTo Previous Page
Loading...
4-14 701333-004
Configuring the 1330 in 3270 Mode
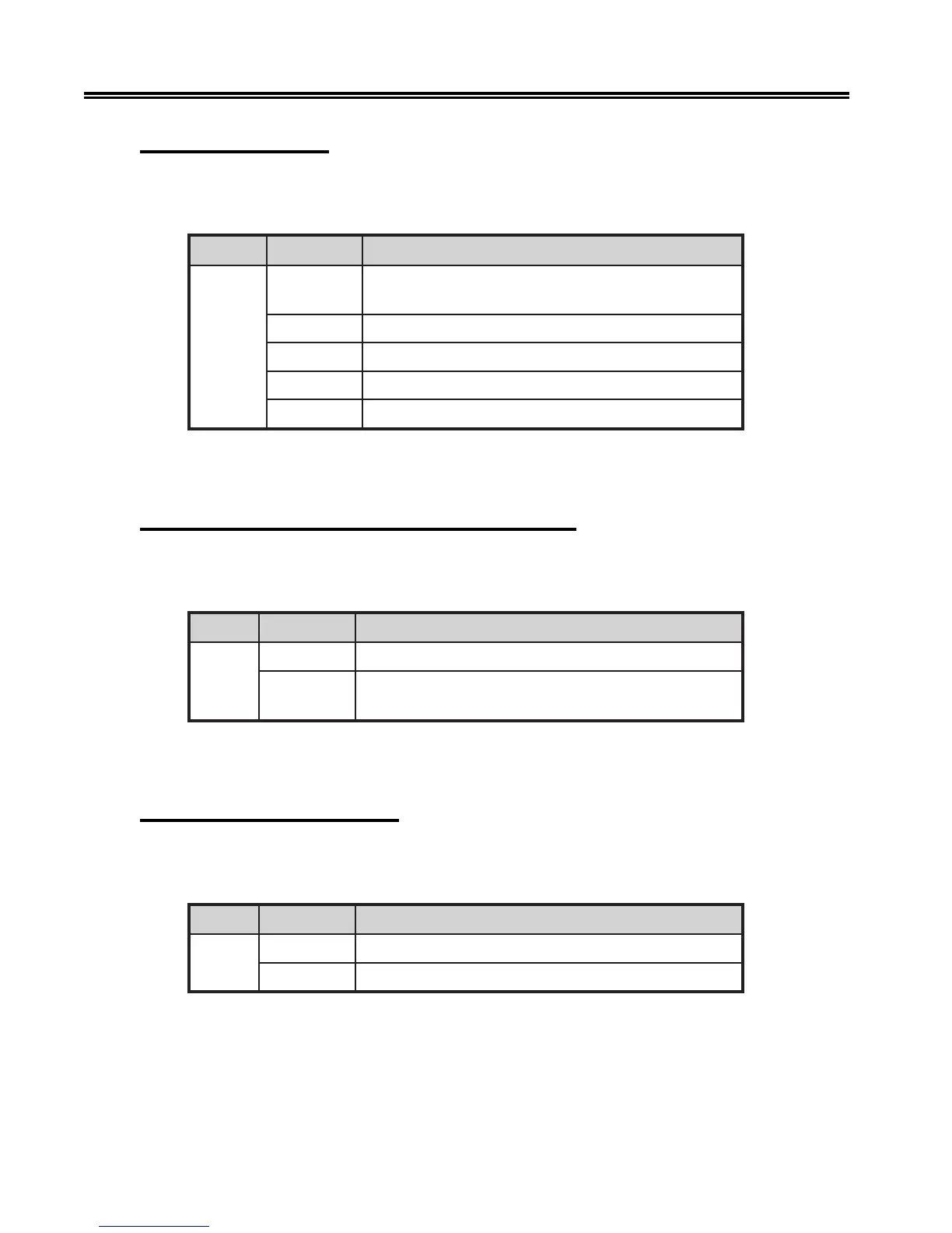
304 – Form Feed (FF)
Use Configuration Option 304 to specify if the 1330 will perform a form feed (FF)
operation before or after a local print, after an LU3 print, or never.
noitpO eciohC gninaeM
403
1
)tnirp3ULotdeddaFFoN(tnirpswollofFFoN
)tluafed(
2tnirplacolretfaFF
3tnirp3ULretfaFF
4tnirplacolerofebFF
5tnirplacolretfadnaerofebFF
To specify your choice, follow the configuration procedure that begins on Page 4-1.
Enter your choice (1, 2, 3, 4, or 5) and press Save.
305 – Form Feed with Auto New Line at Print End
Use Configuration Option 305 to specify whether, after a print, the 1330 will move the
print head to the first line or second line of the next page.
noitpO eciohC gninaeM
503
)oN(01retcarahc,1enilmroffopototdaehtnirpehtsevoM
)seY(1
1retcarahc,2enilmroffopototdaehtnirpehtsevoM
)tluafed(
To specify your choice, follow the configuration procedure that begins on Page 4-1.
Enter your choice (0 or 1) and press Save.
306 – Midline Form Feed (FF)
Configuration Option 306 is used to specify whether to use the midline form feed (FF)
feature, which allows the form feed character to be placed in any position on a print line.
noitpO eciohC gninaeM
603
)oN(0)tluafed(1noitisoptaylnoFF
)seY(1PPMot1morfnoitisopynataFF
To specify your choice, follow the configuration procedure that begins on Page 4-1.
Enter your choice (0 or 1) and press Save.

Table of Contents