EasyManua.ls Logo

NAIM NAIT5 - Page 9

NAIM NAIT5
13 pages
Print Icon
To Next Page IconTo Next Page
To Next Page IconTo Next Page
To Previous Page IconTo Previous Page
To Previous Page IconTo Previous Page
Loading...
8
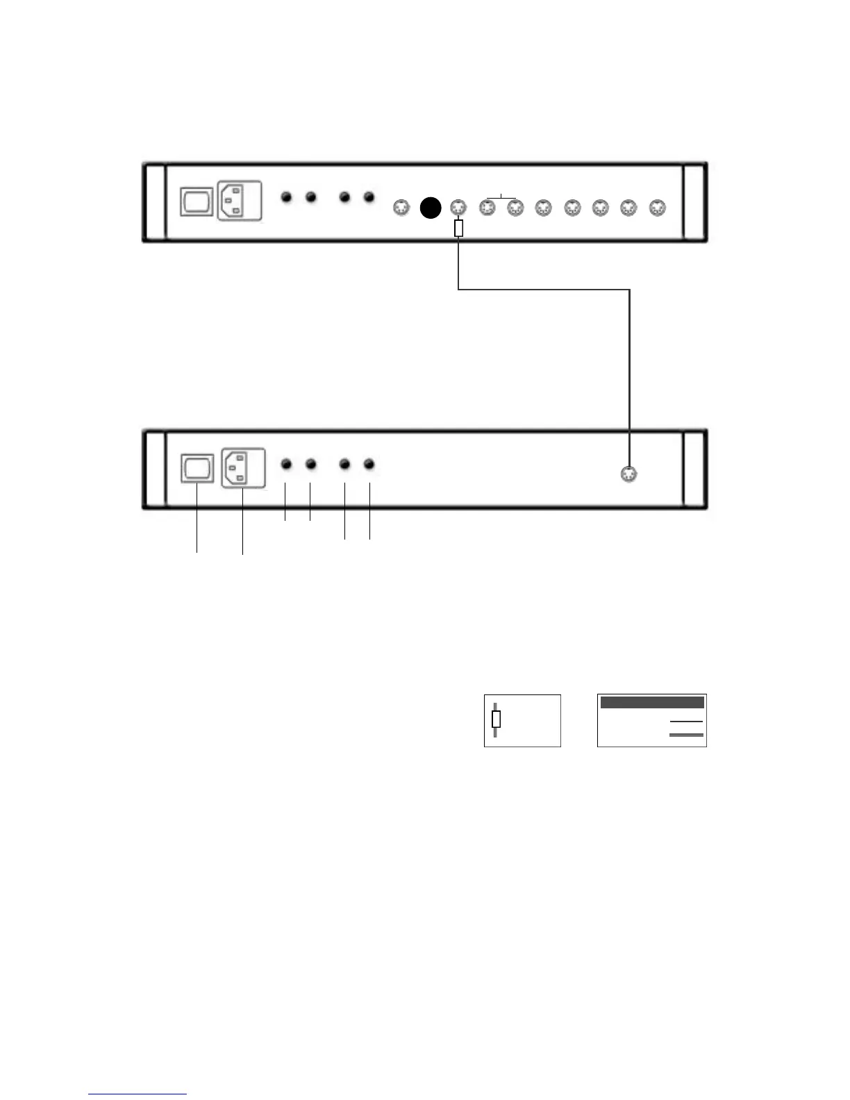
nait 5 connected to power amp
NB - do not connect nait 5 to mains in this configuration.
power amp
+ - - +
input
signal
out A
signal
out B cdtunertapeA/VAUX 1AUX 2
input
cable
direction
marker
4 to 4 pin DIN
5 to5 pin DIN
Interconnect Cables
mains input
power
to left loudspeaker
ch1
to right loudspeaker
ch2
+ - - +

Related product manuals