EasyManua.ls Logo

NAPCO GEM-RP3DGTL - Keypad Controls and Indicators

NAPCO GEM-RP3DGTL
32 pages
Print Icon
To Next Page IconTo Next Page
To Next Page IconTo Next Page
To Previous Page IconTo Previous Page
To Previous Page IconTo Previous Page
Loading...
4
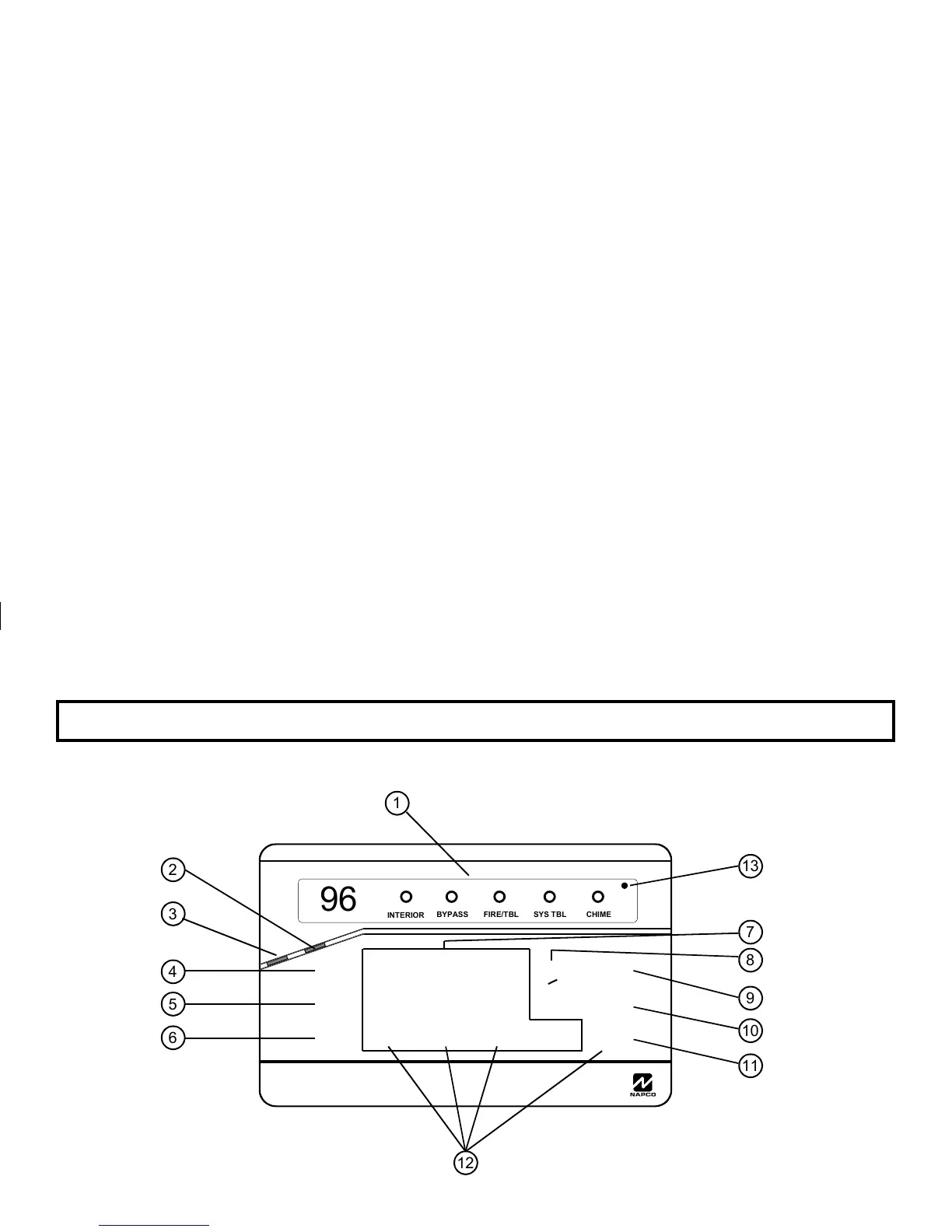
KEYPAD CONTROLS & INDICATORS
1
2
3
4
5
6
7
12
8
9
10
11
13
A
R
M
E
D
COMPUTERIZED SECURITY SYSTEM
S
T
A
T
U
S
GEMINI
A 1 2 3
B 4 5 6
C 7 8 9 0
E
F
G
J
INTERIOR
BYPASS FIRE/TBL SYS TBL CHIME
96
INTERIOR
BYPASS FIRE/TBL SYS TBL CHIME
96
AREA
PRIOR / NO
NEXT / YES

Other manuals for NAPCO GEM-RP3DGTL

Related product manuals