EasyManua.ls Logo

Navistar MaxxForce 9 - Page 149

Navistar MaxxForce 9
197 pages
Print Icon
To Next Page IconTo Next Page
To Next Page IconTo Next Page
To Previous Page IconTo Previous Page
To Previous Page IconTo Previous Page
Loading...
DIAGNOSTICMANUAL
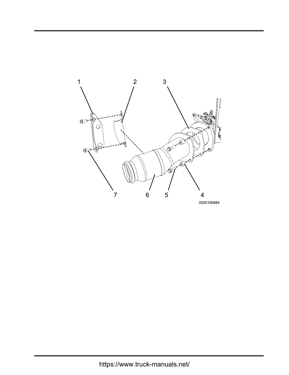
Pre-DieselOxidationCatalyst(PDOC)
ThePDOCdoesthefollowing:
Aidsincreatinganexothermicreactiontoimproveexhaustemissions
Allowsformoreefcientoperationoftheaftertreatmentsystem
1.PDOCbackbracket(attachesto
engine)
2.PDOCbracket
3.ExhaustFlangeGasket
4.11x20x24mmspacer(3)
5.M10x50bolt(3)
6.PDOC
7.M10x25bolt(2)
Figure42Pre-DieselOxidationCatalyst(PDOC)(Typical)
145
https://www.truck-manuals.net/

Table of Contents

Other manuals for Navistar MaxxForce 9

Related product manuals