EasyManua.ls Logo

NEC LED-E012i-108 - Page 15

NEC LED-E012i-108
53 pages
Print Icon
To Next Page IconTo Next Page
To Next Page IconTo Next Page
To Previous Page IconTo Previous Page
To Previous Page IconTo Previous Page
Loading...
English - 13
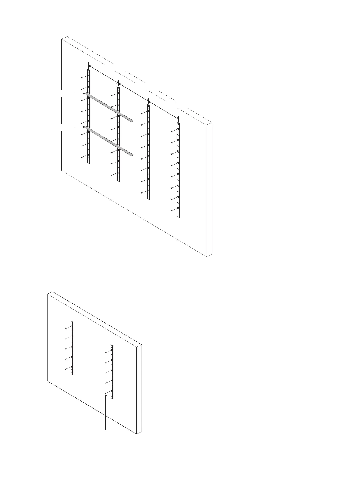
1200 m m
1200 m m
1200 m m
Alignm ent bar
Alignm ent bar
LED- E012i- 217, LED- E025i- 217
(3) Check t he evenness using a spirit level and t he alignm ent bars t ogether. Adjust t he posit ions if required.
M10 screws
Wall m ount ed: Mounting bar inst allat ion ( LED- E015i- 135)

Related product manuals