EasyManua.ls Logo

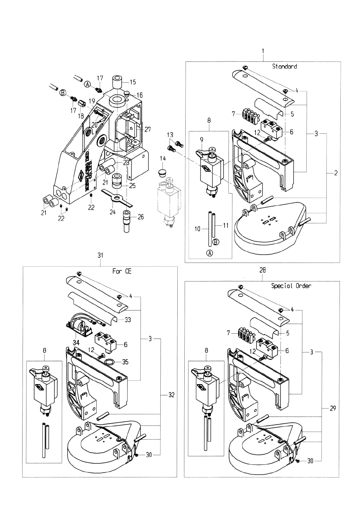
Newlong NP-7A - Bushing, Oiling and Handle Parts Diagram

Newlong NP-7A
40 pages
Print Icon
To Next Page IconTo Next Page
To Next Page IconTo Next Page
To Previous Page IconTo Previous Page
To Previous Page IconTo Previous Page
Loading...
12
(2)BUSHING,OILINGANDHANDLEPARTS

Other manuals for Newlong NP-7A

Related product manuals