EasyManua.ls Logo

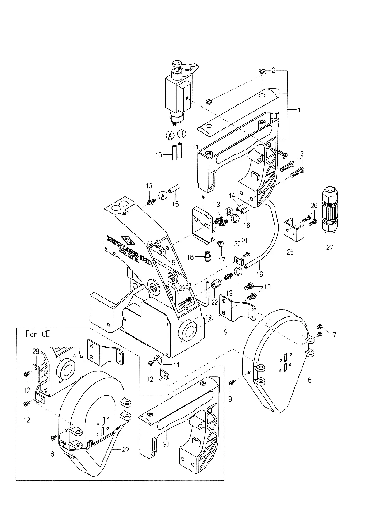
Newlong NP-7A - Special Parts for NP-7 H Diagram

Newlong NP-7A
40 pages
Print Icon
To Next Page IconTo Next Page
To Next Page IconTo Next Page
To Previous Page IconTo Previous Page
To Previous Page IconTo Previous Page
Loading...
22
(7)SPECIALPARTSFORNP-7H

Other manuals for Newlong NP-7A

Related product manuals