EasyManua.ls Logo

Nikon DTM-350 - 3-5) Corner Offset Measurements

Nikon DTM-350
191 pages
Print Icon
To Next Page IconTo Next Page
To Next Page IconTo Next Page
To Previous Page IconTo Previous Page
To Previous Page IconTo Previous Page
Loading...
3-72
3
REC/Offset
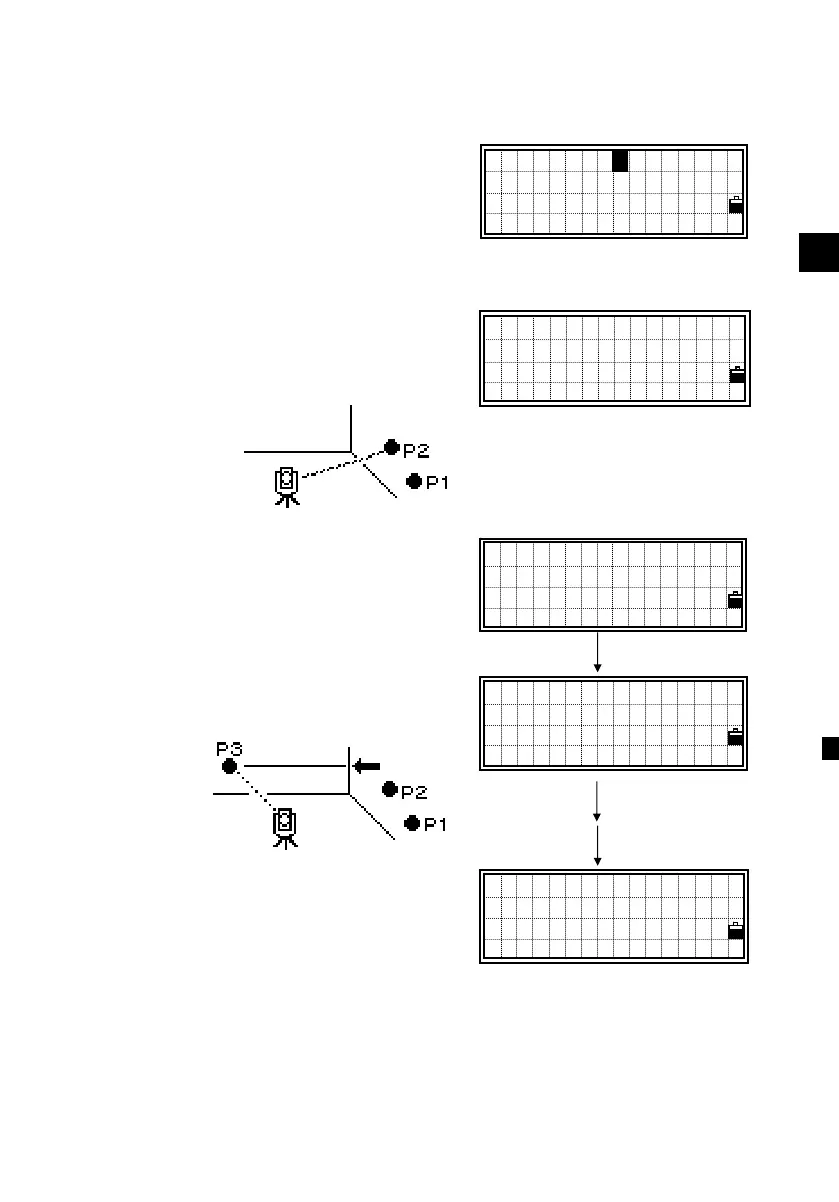
3-5) Corner Offset Measurements
After a distance measurement to the first
prism (or target) on the wall, press the
[REC], [2:O/S] and [5:Cnr] to get to the
Corner function.
Sight the second point on the same wall
with the first point measurement and
press [MSR] or [TRK].
After taking a measurement, press [ENT]
to proceed to next screen.
Sight the third point on the different wall
from P1 and P2. Press [MSR] or [TRK]
again.
When the corner point should be
perpendicular to the first wall (by P1&P2)
from the third point (P3), just press
[ENT] or [4:3Pt] on the screen right.
[MSR]
[ENT]
[ENT]
Sight PT2
HA: 37°08 ’29
Press SRorTRK
1:Tape :Cnr
2:Angle 6:+SD
3:Pole 7:Circl
4:+Line
Sight PT2
HA: 35°21’09”
HD: 76.0483
Sight PT3
HA: 35°21’09”
Press MSRorTRK
Sight PT4
HA: 124°01’36”
Press SRorTRK
3Pt

Table of Contents

Related product manuals