EasyManua.ls Logo

NIPRO Diagnostics TRUEyou - Page 46

NIPRO Diagnostics TRUEyou
50 pages
Print Icon
To Next Page IconTo Next Page
To Next Page IconTo Next Page
To Previous Page IconTo Previous Page
To Previous Page IconTo Previous Page
Loading...
44
100% of user TRUEyou forearm values fell within 0.83 mmol/L of the YSI results at
glucose levels < 5.55 mmol/L and within 15% at glucose levels > 5.55 mmol/L.
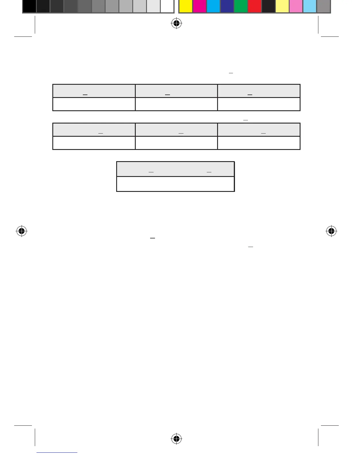
Forearm Samples (user vs. YSI) for glucose concentrations <5.55 mmol/L
Within + 0.28 mmol/L Within + 0.56 mmol/L Within + 0.83 mmol/L
16/28 (57%) 23/28 (82%) 28/28 (100%)
Forearm Samples (user vs. YSI) for glucose concentrations >5.55 mmol/L
Within + 5% Within + 10% Within + 15%
42/72 (58%) 61/72 (85%) 72/72 (100%)
Forearm Samples for glucose concentrations between 1.1-33.3 mmol/L
Within + 0.83 mmol/L or + 15%
100/100 (100%)
Parkes Error Grid: 100% of individual forearm glucose measured values
performed by the users fell within Zone A of the Parkes Error Grid (PEG).
User Performance Evaluation: A study evaluating glucose values from
fingertip capillary blood samples obtained by 100 lay persons showed the
following results: 100% within + 0.83 mmol/L of the medical laboratory values
at glucose concentrations below 5.55 mmol/L and 99% within + 15% of the
medical laboratory values at glucose concentrations at or above 5.55 mmol/L.
Tyou_OB_Guts_E4GBY03FDr20.indd 44 11/8/13 1:43 PM

Related product manuals