EasyManua.ls Logo

Nokia Flexi Multiradio BTS - RRH Module Main Blocks

Nokia Flexi Multiradio BTS
61 pages
Print Icon
To Next Page IconTo Next Page
To Next Page IconTo Next Page
To Previous Page IconTo Previous Page
To Previous Page IconTo Previous Page
Loading...
Figure13
Functionalblocksofthe3-sectorRFModule
Det
VSWRBias-T
Bias-T
RX
filter
RX
filter
TX
filter
RXDiversity
RXMain
TXRX PA
LNA
LNA
RxOUT*FXCx,FXFx
Rx
RxOUT
Tx/Rx
PSU
Fanassembly
DCIN
Det
VSWRBias-T
Bias-T
RX
filter
RX
filter
TX
filter
RXDiversity
RXMain
TXRX PA
LNA
LNA
RxOUT*FXCx,FXFx
Rx
RxOUT
Tx/Rx
RFloop
RXMain
RXDiversity
TXRX PA
TX
filter
RX
filter
RX
filter
Det
VSWRBias-T
Bias-T
LNA
LNA
RxOUT*FXCx,FXFx
Rx
RxOUT
Tx/Rx
RF
control
OpticalIF**
OpticalIF
OpticalIF
RETFXDB,FXEB,
FXFB
FRGP,FRIE,
FXDA,FXCA,
FXEA,FRKA
RFModule
Duplexfilter+
DiversityRX
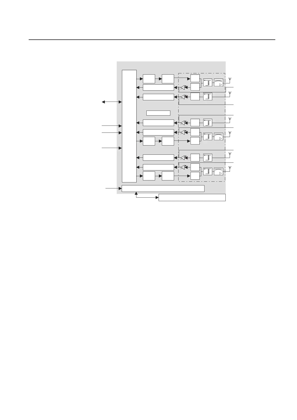
6.2 RRH Module main blocks
TheRRHincludesthefollowingfunctionalblocks:
RFcontrolblock
ThereareinterfacesfromtheRFcontrolblocktowardstheSystemModule
throughopticalconnection.MostunitinternalconnectionsaremadefromtheRF
controlblock.Signalprocessingandunitcontrolfunctionalitiesarelocatedinthis
block
TXblock
AnalogueRFpartsarelocatedintheTXblock
RFFrontend
IncludesanRXfilterwithLNAs
ProcessesairinterfaceRFsignalsforselectedchannels
ProvidesconnectionforFlexiAntennaLinetoFlexiMultiradioBaseStation
SupportsusageofNSNMastheadAmplifier(MHA)units
Containsintegratedbias-Tswithover-currentandundercurrentalarm
detection/protection
PAblock
ThepoweramplifierblockamplifiesTXblockoutputsignaltoaspecifiedoutput
powerlevel
FlexiMultiradioBTSRadioModuleandRemoteRadio
HeadDescription
RFModuleandRRHmainblocks
Issue:05 DN0951745 25

Table of Contents

Related product manuals