EasyManua.ls Logo

Olivetti ECR 6900 - X and Z Reports

Olivetti ECR 6900
50 pages
Print Icon
To Next Page IconTo Next Page
To Next Page IconTo Next Page
To Previous Page IconTo Previous Page
To Previous Page IconTo Previous Page
Loading...
21
ENGLISH
Cash in Drawer Report
This report tells you the financial status of your cash drawer.
It provides the totals for cash, check, charge, credit 1 and
credit 2 payments.
1. Control lock key position: X or Z (bear in mind that a Z
Clerk Report resets all totals).
2. If a PRG and Z mode, or X mode, manager password
was defined type the [4-digit password] and press
.
3. Press .
Clerk Report
This report lists the number of transactions and sales totals
for each Clerk. At the end of the receipt you are given the
sales total of all clerks.
For all clerks, normal sales only:
1. Control lock key position: X or Z (bear in mind that a Z
Clerk Report resets all totals).
2. If a PRG and Z mode, or X mode, manager password was
defined type the [4-digit password] and press
.
3. Press
.
For all clerks, training sales only, repeat the procedure above
replacing step 3 with:
Press .
For normal sales and training sales of a specific clerk,
repeat the procedure above replacing step 3 with:
Enter [clerk number] and press
.
2. If a PRG and Z mode, or X mode, manager password was
defined type the [4-digit password] and press
.
3. Press
.
X2 and Z2 Financial Reports
1. Control lock key position: X or Z (bear in mind that a Z2
printout resets all totals to zero).
2. If a PRG and Z mode, or X mode, manager password
was defined type the [4-digit password] and press
.
3. Type
and press .
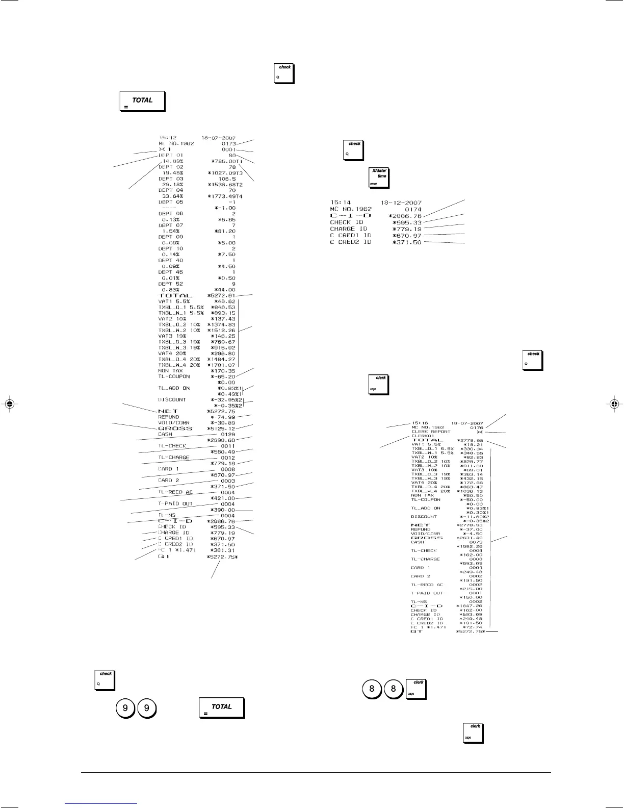
X report identifier
Department number
or assigned name
Department 1
activity counter
X counter
Department 1
sales total
Consecutive
receipt number
Department 1 ratio %
Card 1 sales total
Card 2 sales total
Net sales total in
local currency
Void total
Grand total
Charge sales total
Cash in drawer
total
Check in drawer
total
Sales total for all
departments
Percent add-on
total
Coupon (-)
total
Total amount VAT
1, 2, 3 and 4
Refund total
Gross sales total
Cash sales total
Check sales total
Received on
account total
Paid out total
Percent discount
total
Charge in drawer total
No sale counter
Card 1 in drawer total
Card 2 in drawer total
Cash sales counter
Charge sales counter
Check sales counter
Paid out counter
Received on
account counter
Card 1 sales counter
Card 2 sales counter
Foreign currency
rate and sales total
Cash in drawer total
Check in drawer total
Charge in drawer total
Credit 1 in drawer total
Credit 2 in drawer total
Consecutive
receipt
number
X report identifier
Sales total of
clerk 1
Clerk 1 number or
assigned name
Time
Summary of
clerk 1 activities
Machine Grand
Total

Table of Contents

Other manuals for Olivetti ECR 6900

Related product manuals