EasyManua.ls Logo

Olympus CK40 - Page 12

Olympus CK40
39 pages
Print Icon
To Next Page IconTo Next Page
To Next Page IconTo Next Page
To Previous Page IconTo Previous Page
To Previous Page IconTo Previous Page
Loading...
7
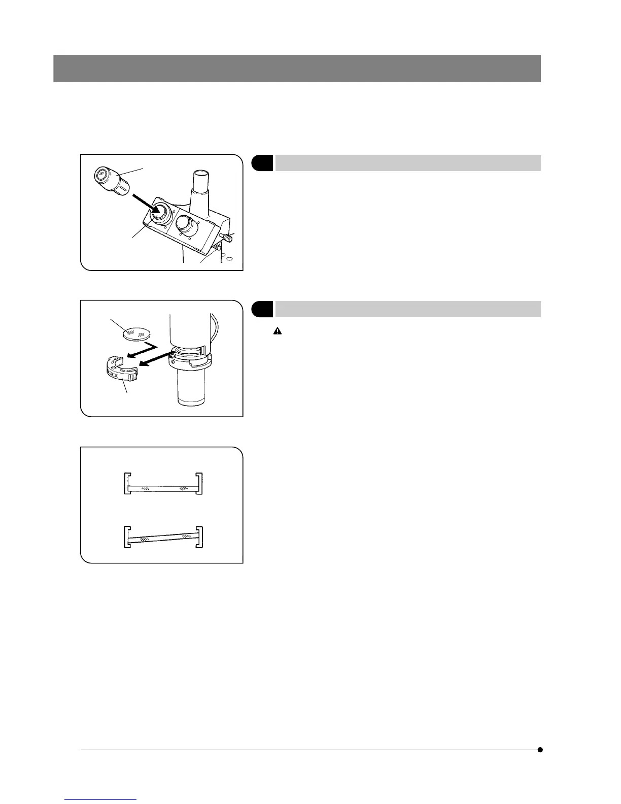
8 Mounting the Eyepieces
(Fig. 12)
Insert the eyepiece @ into the eyepiece sleeve ² on the observation
tube.
9 Mounting the Filter
(Fig. 13 & 14)
Let the filter cool down sufficiently before replacing the filter.
Remove the filter holder @ and mount the required filter ².
#Push the filter down to the bottom as shown in Fig. 14 so that it does
not tilt. If the filter is inclined or is not pushed down to the bottom, it
may fall off the filter mount.
}Filters can be stacked in the filter holder. You can mount as many as you
like, as long as the total thickness does not exceed 11 mm.
Fig. 12
Fig. 13
Fig. 14
@
@
²
Incorrect
Correct
²

Related product manuals