EasyManua.ls Logo

Omron C200HX - 2 S Complement - Neg

Omron C200HX
586 pages
Print Icon
To Next Page IconTo Next Page
To Next Page IconTo Next Page
To Previous Page IconTo Previous Page
To Previous Page IconTo Previous Page
Loading...
226
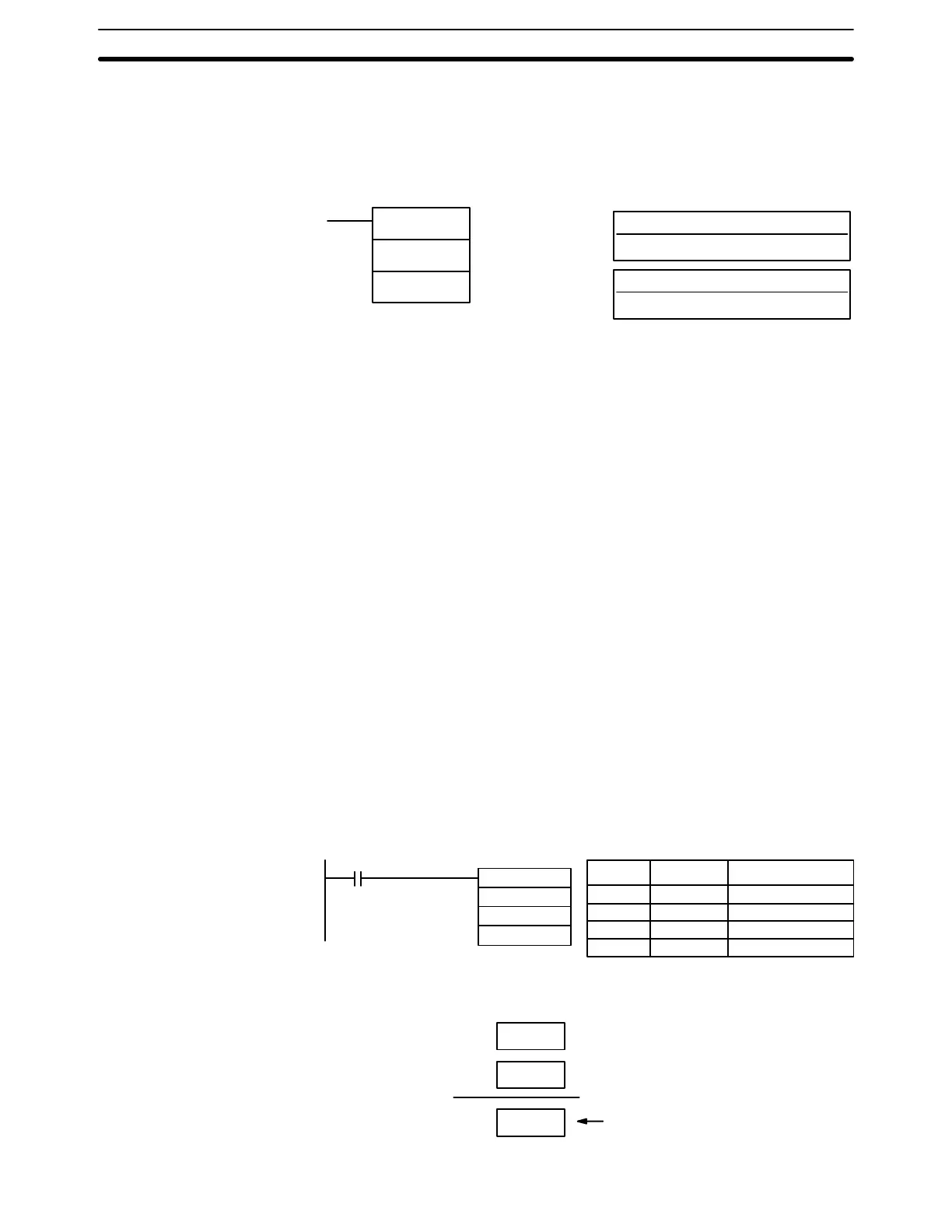
5-18-15 2’S COMPLEMENT – NEG(––)
S: Source word
IR, SR, AR, DM, HR, TC, LR, #
Ladder Symbols
Operand Data Areas
R: Result word
IR, SR, AR, DM, HR, LR
NEG(––)
S
R
Description Converts the four-digit hexadecimal content of the source word (S) to its 2’s
complement and outputs the result to the result word (R). This operation is effec-
tively the same as subtracting S from 0000 and outputting the result to R.
If the content of S is 0000, the content of R will also be 0000 after execution, and
EQ (SR 25506) will be turned on.
If the content of S is 8000, the content of R will also be 8000 after execution, and
UF (SR 25405) will be turned on.
Note Refer to page 27 for details on 16-bit signed binary data.
Flags ER: Indirectly addressed DM word is non-existent. (Content of DM word is
not BCD, or the DM area boundary has been exceeded.)
EQ: ON when the content of S is 0000; otherwise OFF.
UF: ON when the content of S is 8000; otherwise OFF.
N: ON when bit 15 of R is set to 1; otherwise OFF.
Example The following example shows how to use NEG(––) to find the 2’s complement of
the hexadecimal value 001F and output the result to DM 0020.
NEG(––)
#001F
DM 0020
---
00000
Address Instruction Operands
00000 LD 00000
00001 NEG(––)
# 001F
DM 0020
#0000
#001F
#FFE1
Output to DM 0020.
Data Conversion Section 5-18

Table of Contents

Related product manuals