EasyManua.ls Logo

Omron E5CK-AA1-500 AC/DC24 - E5 AK;E5 CK;E5 EK Nomenclature and Display; Model Nomenclature and Indicators; Display and Key Functions

Omron E5CK-AA1-500 AC/DC24
23 pages
To Next Page IconTo Next Page
To Next Page IconTo Next Page
To Previous Page IconTo Previous Page
To Previous Page IconTo Previous Page
Loading...
E5CK
E5CK
8
Operation
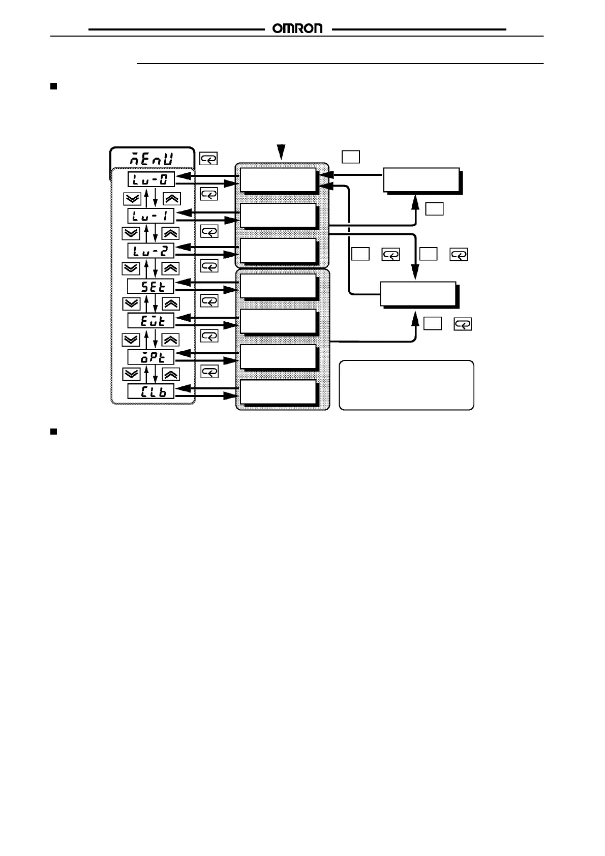
Parameter Operation List
Switching to modes other than manual or protect mode is carried out using mode selection in the menu display.
The figure belowshows allparameters in theorder thatthey aredisplayed. Someparameters arenot displayeddepending onthe protectmode
setting and conditions of use.
A/M
A/M
A/M
A/M
A/M
+ +
+
1 second min.
Level 0 mode
Level 1 mode
Level 2 mode
Setup mode
Expansion mode
Option mode
Calibration mode
1 second min.
Manual mode
Protect mode
1 second min.
1 second min. 1 second min.
1 second min.
Parameters in a mode can be
switched by the Display Key. The
parameter following the last param-
eter is the top parameter.
1 second min.
Power ON
1 second min.
1 second min.
1 second min.
1 second min.
1 second min.
Parameters and Menus
Note: For more details on the functions of each part and display contents, refer to the E5CK User s Manual (H78) .
Protect Mode Limits use of the menu and A/M Keys. The protect function prevents unwanted modification of
parameters and switching between the auto and manual operation.
Manual Mode The Controller can be switched to manual operation. The manipulated variable can be manipulated
manually only in this mode.
Level 0 Mode Set the Controller to this mode during normal operation. In this mode, change the set point during
operation, and start or stop Controller operation. The process value, ramp SP, and manipulatedvari-
able can only be monitored in this mode.
Level 1 Mode The main mode for adjusting control. In this mode, execute AT (auto-tuning), and set alarm values,
the control period, and PID parameters.
Level 2 Mode The auxiliary mode for adjustingcontrol. Inthis mode,set theparameters forlimiting themanipulated
variable and set point, switch between the remote and local modes, and set the loop break alarm
(LBA), alarm hysteresis, and the digital filter value of inputs.
Setup Mode The mode for setting the basic specifications. In this mode, set parameters that must be checked or
set before operation such as the input type, scaling, output assignments and direct/reverse opera-
tion.
Expansion Mode The mode for setting expanded functions. In this mode,set ST(self-tuning), SPsetting limiter,select
advanced PIDor ON/OFF control, specify the standby sequence resetting method, initialize param-
eters, and set the time for automatic return to the monitoring display.
Option Mode The mode for setting option functions. Select this mode only when the Option Unit is set in the Con-
troller. In this mode, set the communications conditions, transfer output and event input parameters
to match the type of Option Unit set in the Controller.
Calibration Mode The mode for calibrating inputs and transfer output.
When calibrating input, the selected input type is calibrated. Whereas, transfer output can be cali-
brated only when the Communications Unit (E53-CKF) is set in the Controller.

Other manuals for Omron E5CK-AA1-500 AC/DC24

Related product manuals