EasyManua.ls Logo

Omron ZX-LDA11 - Page 102

Omron ZX-LDA11
187 pages
Print Icon
To Next Page IconTo Next Page
To Next Page IconTo Next Page
To Previous Page IconTo Previous Page
To Previous Page IconTo Previous Page
Loading...
Through-beam Sensor Heads: FUN Mode Functions Section 3-8
82
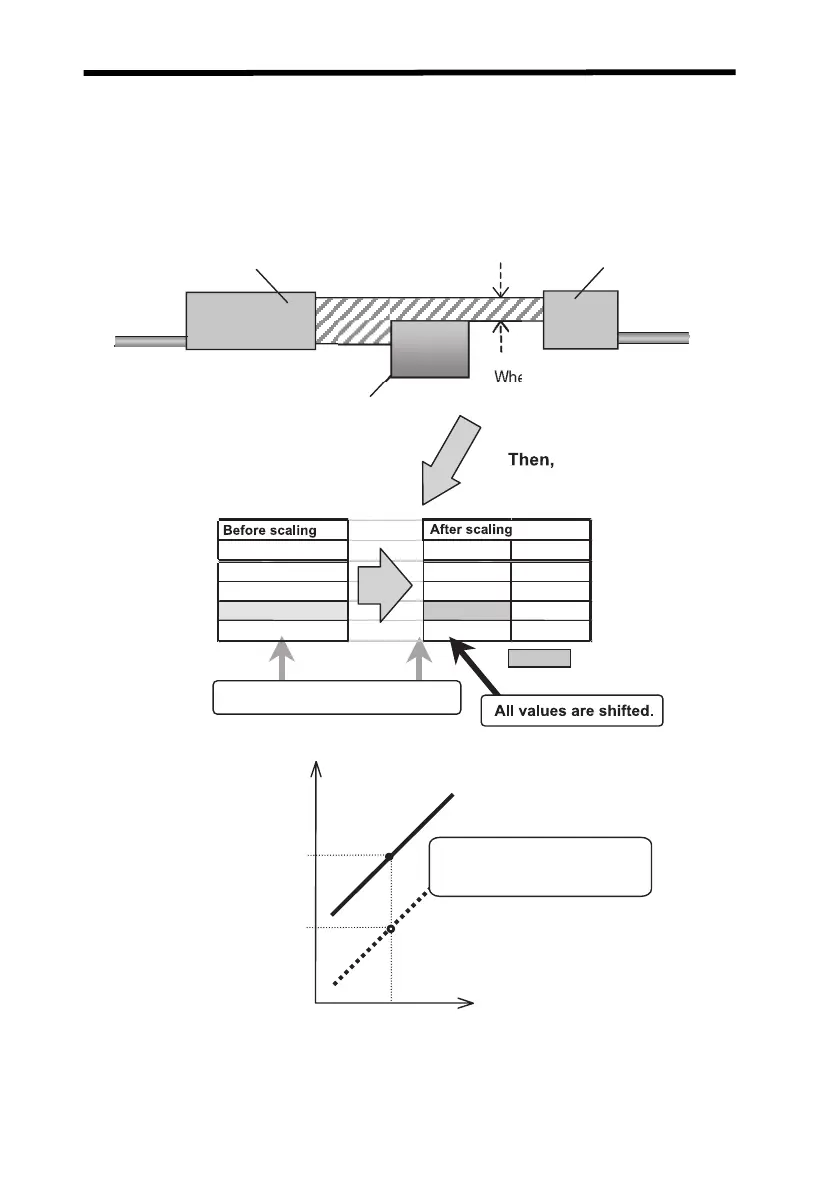
Offsetting Display Values: One-point Scaling A
Use one-point scaling to offset the display values. Input the width to be dis-
played for the current measurement point.
When you input only one point for scaling, only the offset is changed with-
out changing the range of display values. In this example, the display val-
ues are not inverted.
Example: One-point Scaling A
S
ensor Head Emitte
r
X
S
ensor Head Receive
r
When displaying X= 2.5 as
5 mm is required
Sensing object
1.5 4.0 1.5
2.0 4.5 2.0
2.5 5.0 2.5
3.0 5.5 3.0
Measured value = Display value
Measured value
Display value
: Scaling value input
2.5 mm is displayed as 5.0 mm.
Display value
(mm)
5.0
2.5
Despite the offset value,
the range remains unchanged.
2.5
Actual incident beam width (mm)
Z157-E1-01C.book Page 82 Thursday, August 31, 2006 5:13 PM

Table of Contents

Related product manuals