EasyManua.ls Logo

Omron ZX-LDA11 - Page 67

Omron ZX-LDA11
187 pages
Print Icon
To Next Page IconTo Next Page
To Next Page IconTo Next Page
To Previous Page IconTo Previous Page
To Previous Page IconTo Previous Page
Loading...
Reflective Sensor Heads: FUN Mode Functions Section 3-5
47
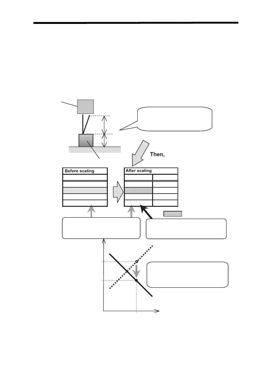
Displaying the Height of the Sensing Object: One-point Scaling B
The height of the sensing object can be displayed by using one-point scal-
ing and inverting the display values.
When the display values are inverted, the larger the displacement, the
smaller the display value. Therefore, the height of the sensing object can
be displayed after inputting the height of a known sensing object.
Because one-point scaling is used, the range of display values is not
changed. The linear output also remains unchanged.
Example:
Example: One-point Scaling B
100.0 80.0 100.0
110.0 70.0 110.0
120.0 60.0 120.0
130.0 50.0 130.
0
Sensor Head
X
Y
Although the Y value
must be displayed, the
X value is displayed.
If X = 110 mm
and Y = 70 mm,
Measured value = Display value
Measured valueDisplay value
: Scaling value input
110 mm is displayed as 70 mm
and the display values
are inverted.
Display value
(mm)
110.0
70.0
110.0 Actual distance (mm)
Even though the display values
are offset and inverted, the
range of display values remains
unchanged.
Sensing object
All display values are offset
and inverted.
Z157-E1-01C.book Page 47 Thursday, August 31, 2006 5:13 PM

Table of Contents

Related product manuals