EasyManua.ls Logo

Omron ZX-LDA11 - Page 94

Omron ZX-LDA11
187 pages
Print Icon
To Next Page IconTo Next Page
To Next Page IconTo Next Page
To Previous Page IconTo Previous Page
To Previous Page IconTo Previous Page
Loading...
Through-beam Sensor Heads: RUN Mode Functions Section 3-6
74
Refer to 3-8-15 Zero Reset Memory Function.
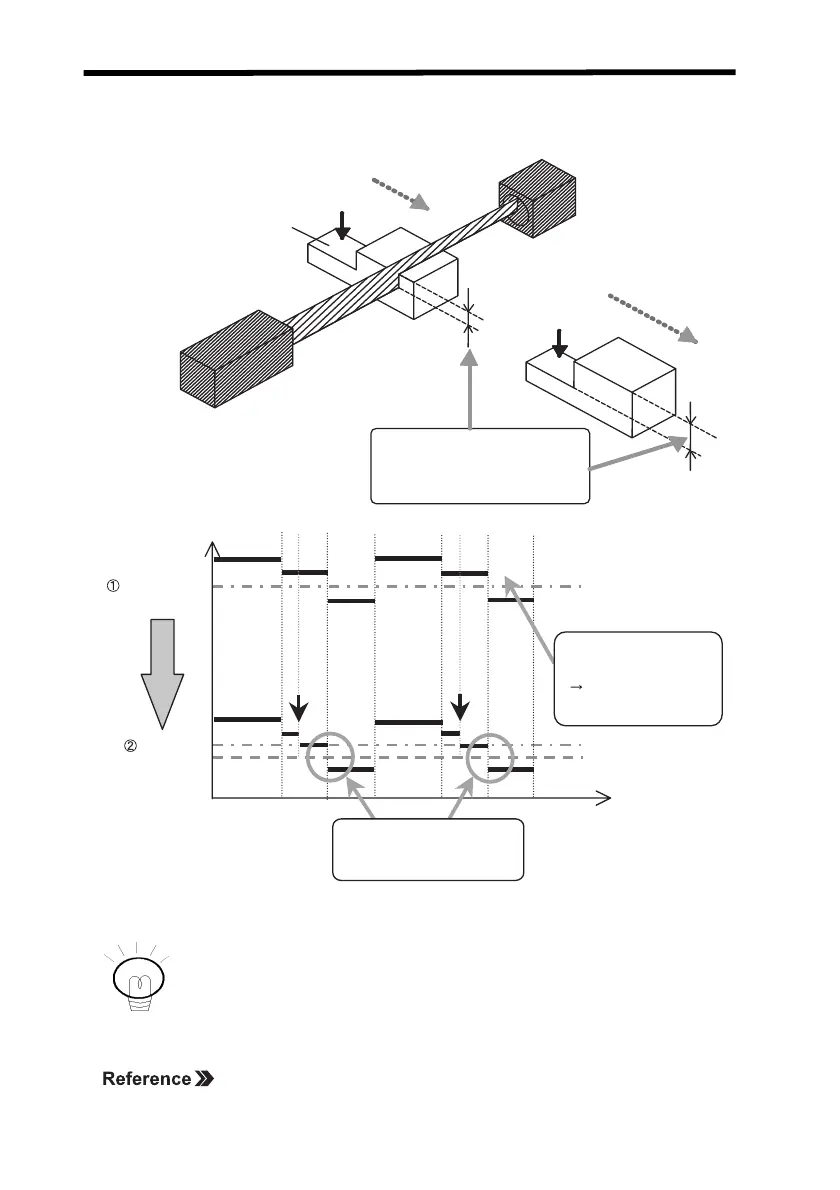
Receiver
Sensing object
Emitter
This height must be evaluated.
All that is necessary is to reset
zero at the point indicated by the
arrow while measuring.
Example: Use Zero Reset to Evaluate the Height of a Step in the Sensing Object
Measured value
Without zero
reset
Threshold
Threshold
Threshold must be
set to an absolute height.
Acurate measurement
is impossible.
With zero
reset
Zero reset level
Time
The height of the step is always
evaluated in comparison to
the threshold.
Zero
reset.
Zero
reset.
In this case, disabling the zero reset memory is recommended.
POINT
Z157-E1-01C.book Page 74 Thursday, August 31, 2006 5:13 PM

Table of Contents

Related product manuals