EasyManua.ls Logo

Onkyo TX-SR302

Onkyo TX-SR302
67 pages
To Next Page IconTo Next Page
To Next Page IconTo Next Page
To Previous Page IconTo Previous Page
To Previous Page IconTo Previous Page
Loading...
OPERATION CHECK-3
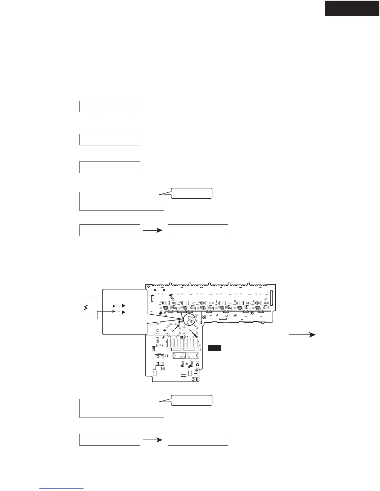
OUTPUT LEVEL & THERMAL DETECTION
TX-SR302
P6301
COM
TH1
TH2
30
U16
NAAF-8245
POWER AMPLIFIER PC BOARD
P6301
TH1
COM
Front side
2.7 kohms
1W
Test - _
Test - 3-00
Test - 3-02
Test - 3-02
FM STEREO
FM STEREO
Clear
Disappears
0.5 sec.
Clear
Disappears
0.5 sec.
Test - 3-02
FM STEREO
FM STEREO
OUTPUT LEVEL DETECTION
1. Set the unit to test mode " Test-3-2 "
1-1. Press and the hold down the CD button , then press the STANDBY/ON button when the unit is Power On.
1-2. Press the VIDEO 2 button, while the" Test - _ " is shown.
Unit will be in the state of " Test-3-00 ".
1-3. Repeat and press SPEAKERS B to while the " Test-3-2 " is shown.
2. Apply signal (sine wave 1kHz, -1.5dBV) to MULTI CHANNEL (FL, FR, SL, SR, C) terminal, each channel.
3. Check that FM STEREO indicator is shown.
4. Press the STANDBY/ON button.
THERMAL DETECTION
1. Set the unit to test mode " Test-3-2 "
Refer to the clause of "Output level detection".
2. Connect the resistor (2.7 kohms, 1W) between " HT1 " and " COM " terminals of P6301.
3. Check that FM STEREO indicator is shown.
4. Press the STANDBY/ON button.
<Check by test mode>
The following is the procedure of checking detection operation of a microprocessor in false, by using test mode.

Other manuals for Onkyo TX-SR302

Related product manuals