EasyManua.ls Logo

OTC MTX-3531 - Of Torch

Default Icon
20 pages
Print Icon
To Previous Page IconTo Previous Page
To Previous Page IconTo Previous Page
Loading...

10
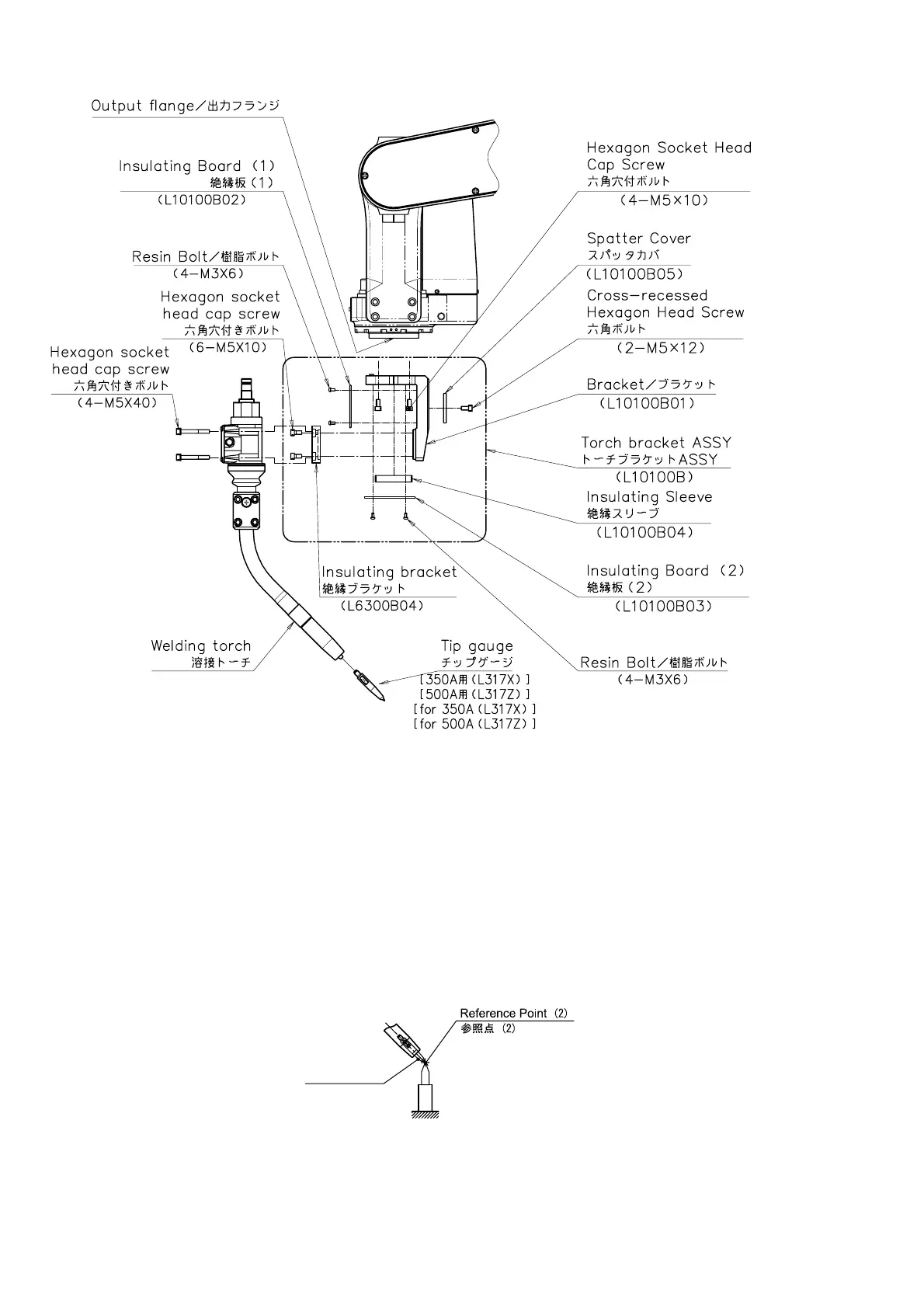
Fig. 3.8 Mounting the curved torch (MTXC-3531)
3.3.2 Teaching the reference point (Creating the origin position check program)
(1) Remove the nozzle and contact tip from the torch.
(2) Secure the tip gauge (L317X) to the torch.
(3) To set the reference point, prepare the sharp point fixed on the ground (such as the tip
gauge L317X). (Hereinafter, referred to as the reference gauge.)
(4) Align the point of tip gauge on the tip of reference gauge, and teach it as the reference
point 2 (point-teaching). This reference point 2 is used for checking the mechanical
deviation of torch.
Fig. 3.9 Teaching the reference point
Tip Gauge
チップゲージ
(
L317X
)

Related product manuals