EasyManua.ls Logo

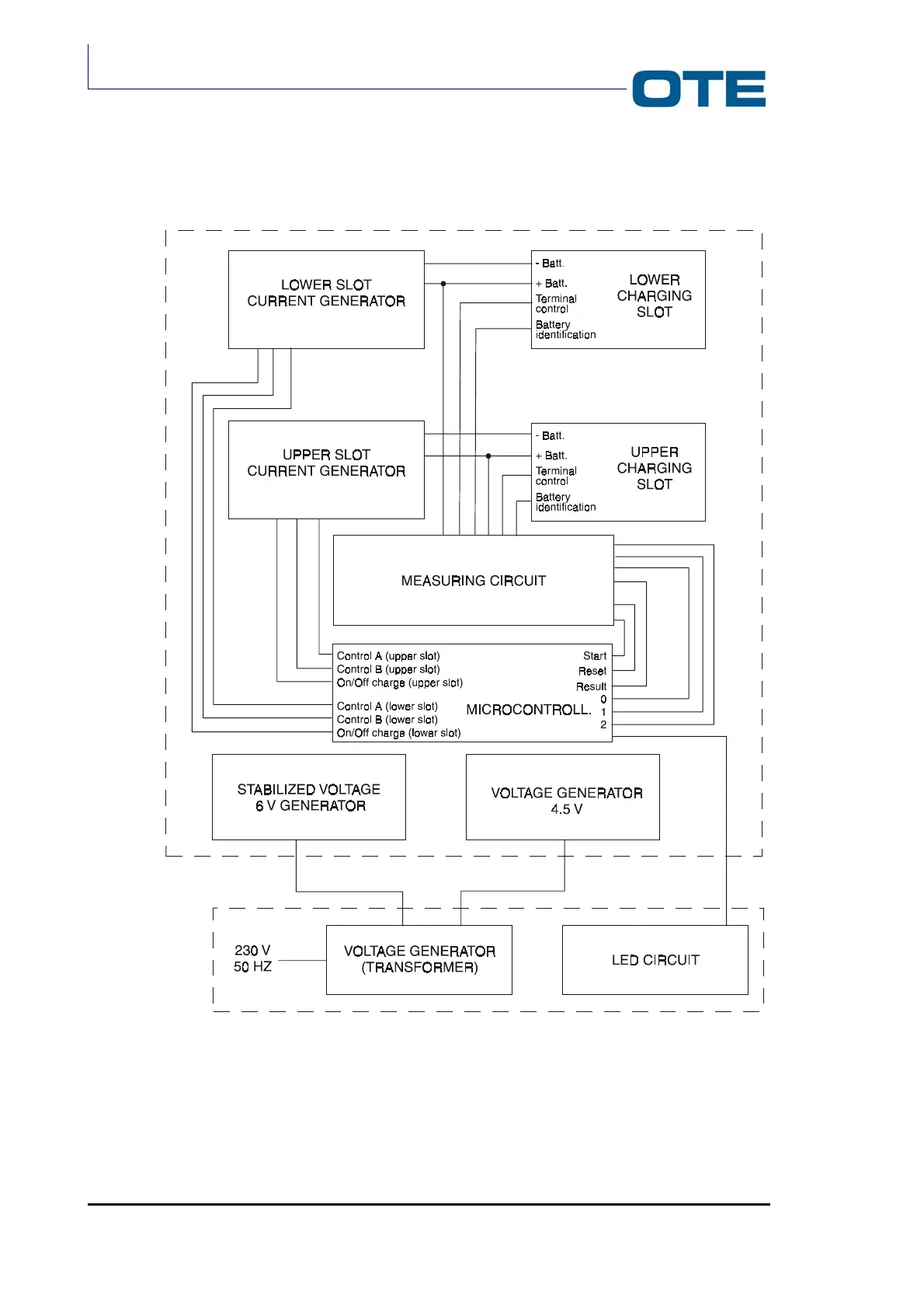
OTE BCP2-850 - Fig. 3.5: BCP2-850 Block Diagram

Default Icon
62 pages
Print Icon
To Next Page IconTo Next Page
To Next Page IconTo Next Page
To Previous Page IconTo Previous Page
To Previous Page IconTo Previous Page
Loading...
Battery charger for the PUMA T2 hand-held radio
Technical Manual
Functional Description
Page 26 OTE Proprietary Information
P/N: 779-0357/02
Revision 04
Fig. 3.5: BCP2-850 block diagram

Table of Contents